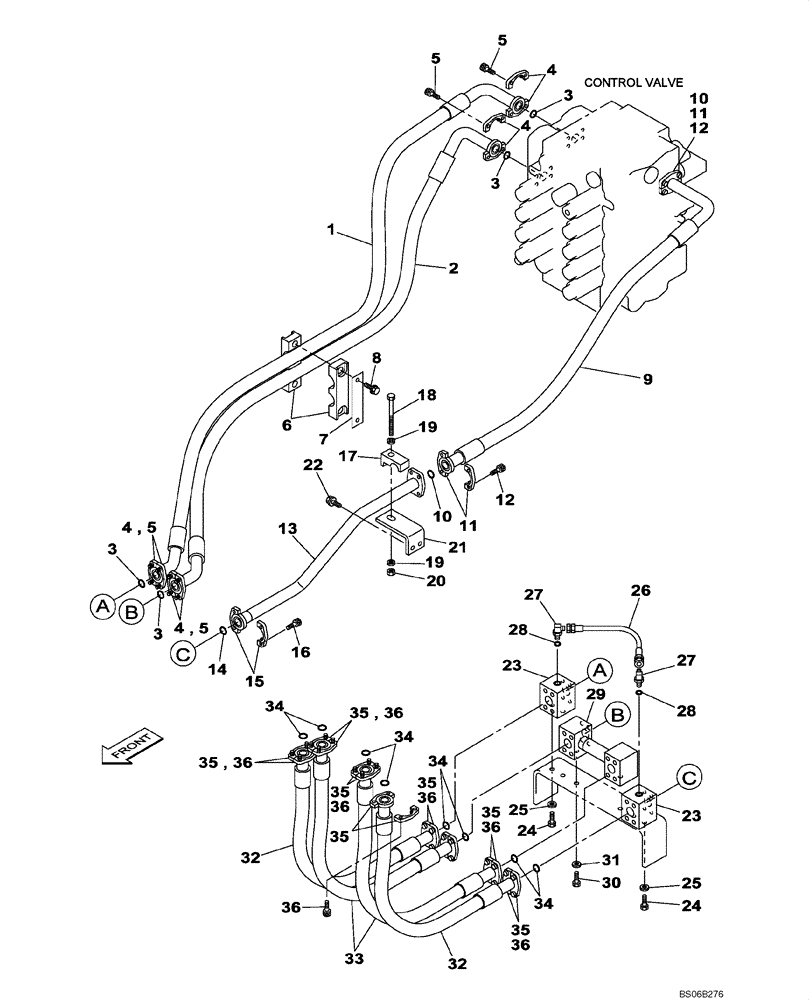
Запчасти Case CX700B (08-09) - HYDRAULICS - BOOM (08) - HYDRAULICS

Схема запчастей Case CX700B - (08-09) - HYDRAULICS - BOOM (08) - HYDRAULICS
28
7
35
10
29
34
24
27
36
32
12
36
35
28
34
3
31
19
36
23
36
14
5
11
32
25
3
15
35
36
22
27
21
3
5
12
36
16
6
33
4
17
35
2
24
5
35
4
11
18
13
20
1
4
34
4
35
30
9
19
36
5
34
35
23
8
25
3
26
10
FIT
1:1
100%

Артикул

Название

Примечание

Количество

1

KWJ10260

HYDRAULIC HOSE,31.80 mm ID x 2320.00 mm

1шт.

2

KWJ10270

HYDRAULIC HOSE,31.80 mm ID x 2180.00 mm

1шт.

3

164450A1

O-RING

4шт.

4

150124A1

FLANGE

8шт.

5

108R014Y045R

BOLT,Hex Skt, M14 x 45mm, Cl 12.9

16шт.

6

KWJ10010

CLAMP

2шт.

7

KWJ10180

PLATE

1шт.

8

166052A1

BOLT

M10 x 25

2шт.

9

KWJ10280

HYDRAULIC HOSE,31.80 mm ID x 1460.00 mm

1шт.

10

164450A1

O-RING

2шт.

11

150124A1

FLANGE

4шт.

12

108R014Y045R

BOLT,Hex Skt, M14 x 45mm, Cl 12.9

8шт.

13

KWJ10320

HYD TUBE,34.7 mm ID x 42.7 mm OD

1шт.

14

164450A1

O-RING

1шт.

15

150124A1

FLANGE

2шт.

16

108R014Y045R

BOLT,Hex Skt, M14 x 45mm, Cl 12.9

4шт.

17

KTV1209

CLAMP

1шт.

18

827-16090

BOLT,Hex, M16 x 2 x 90mm, Cl 10.9

1шт.

19

150814A1

WASHER,17mm ID x 32mm OD x 4.5mm Thk

W 16

2шт.

20

829-1416

NUT,M16, Cl 10

1шт.

21

KWJ10350

SUPPORT

1шт.

22

166352A1

BOLT

M12 x 30

2шт.

23

KWJ10340

VALVE SECTION

2шт.

24

102R014Y030R

BOLT

M14 x 30

4шт.

25

150418A1

WASHER

W M14

4шт.

26

KWJ10310

HYDRAULIC HOSE,6.35 mm ID x 480.00 mm

1шт.

27

150913A1

ELBOW,90 Degree, 1/4" O-Ring x 1/4"

Incl. 28

2шт.

28

154467A1

O-RING,10.8mm ID x 2.4mm Width

2шт.

29

KWJ10330

HYD TUBE,34.7 mm ID x 42.7 mm OD

1шт.

30

102R014Y030R

BOLT

M14 x 30

2шт.

31

150418A1

WASHER

W M14

2шт.

32

KWJ10290

HYDRAULIC HOSE,31.80 mm ID x 1190.00 mm

2шт.

33

KWJ10300

HYDRAULIC HOSE,31.80 mm ID x 1280.00 mm

2шт.

34

164450A1

O-RING

8шт.

35

150124A1

FLANGE

16шт.

36

108R014Y045R

BOLT,Hex Skt, M14 x 45mm, Cl 12.9

32шт.

Выбрано товаров: 36