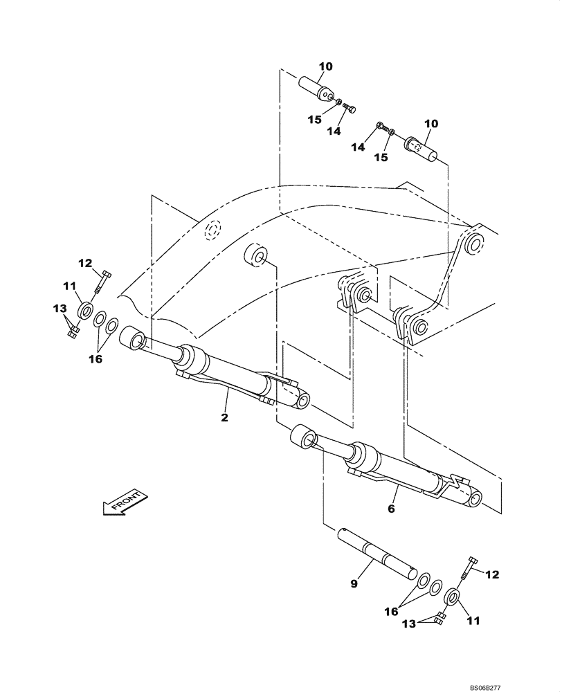
Запчасти Case CX700B (08-09A) - HYDRAULICS - BOOM CYLINDER (WITHOUT VALVE, PRESSURE RELIEF) (08) - HYDRAULICS

Схема запчастей Case CX700B - (08-09A) - HYDRAULICS - BOOM CYLINDER (WITHOUT VALVE, PRESSURE RELIEF) (08) - HYDRAULICS
10
6
16
9
14
14
15
11
13
2
13
16
10
12
11
15
12
FIT
1:1
100%

Артикул

Название

Примечание

Количество

2

KWV0010

HYDRAULIC CYLINDER

Boom Cylinder, Right Hand; See Figure 08-85

1шт.

6

KWV0011

HYDRAULIC CYLINDER

Boom Cylinder, Left Hand; See Figure 08-86

1шт.

9

KWV0049

PIN

1шт.

10

KWV0050

PIN

2шт.

11

KWV0100

LOCKING RING

2шт.

12

132R024Y220R

BOLT,M24 x 2 x 220mm

M24 x 2 x 220

2шт.

13

829-13424

NUT,M24 x 2, Cl 10

4шт.

14

102R020Y035R

BOLT

M20 x 35

2шт.

15

KWV0090

SPACER

2шт.

16

KWV0101

ADJUSTING PLATE

1шт.

Выбрано товаров: 10