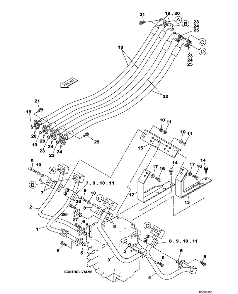
Запчасти Case CX700B (08-10) - HYDRAULICS - ARM AND BUCKET (08) - HYDRAULICS

Схема запчастей Case CX700B - (08-10) - HYDRAULICS - ARM AND BUCKET (08) - HYDRAULICS
25
8
1
6
23
11
17
9
23
10
24
12
13
7
11
18
5
5
20
9
24
25
19
17
9
7
16
14
15
10
19
24
24
28
20
27
8
21
8
4
26
20
5
14
10
2
23
10
23
22
11
3
25
10
11
21
9
6
10
19
6
5
16
6
FIT
1:1
100%

Артикул

Название

Примечание

Количество

1

KWJ10420

HYD TUBE,34.7 mm ID x 42.7 mm OD

1шт.

2

KWJ10430

HYD TUBE,34.7 mm ID x 42.7 mm OD

1шт.

3

KWJ10440

HYD TUBE,34.7 mm ID x 42.7 mm OD

1шт.

4

KWJ10450

HYD TUBE,34.7 mm ID x 42.7 mm OD

1шт.

5

164450A1

O-RING

4шт.

6

108R014Y045R

BOLT,Hex Skt, M14 x 45mm, Cl 12.9

16шт.

7

KWJ10130

CLAMP

4шт.

8

KWJ10510

CLAMP

4шт.

9

827-12100

BOLT,Hex, M12 x 1.75 x 100mm, Cl 10.9

8шт.

10

150811A1

WASHER

W 12

16шт.

11

829-1412

NUT,M12, Cl 10.9

8шт.

12

KWJ10460

SUPPORT

1шт.

13

KWJ10470

SUPPORT

1шт.

14

166352A1

BOLT

M12 x 30

6шт.

15

KWJ10480

SUPPORT

1шт.

16

627-16035

BOLT,Hex, M16 x 2 x 35mm, Cl 10.9, Full Thd

4шт.

17

150814A1

WASHER,17mm ID x 32mm OD x 4.5mm Thk

4шт.

18

KWJ11880

HOSE ASSY.

Replaces KWJ10490, 2030 mm

2шт.

19

164450A1

O-RING

4шт.

20

150124A1

FLANGE

8шт.

21

108R014Y045R

BOLT,Hex Skt, M14 x 45mm, Cl 12.9

16шт.

22

KWJ11890

HOSE ASSY.,2030.00 mm

Replaces KWJ1050, 2000 mm

2шт.

23

168211A1

O-RING

4шт.

24

KTJ0169

FLANGE

8шт.

25

862-16050

HEX SOC SCREW,M16 x 50mm, Cl 12.9

16шт.

26

KUP0009

FLANGE

1шт.

27

164450A1

O-RING

1шт.

28

862-14040

HEX SOC SCREW,M14 x 40mm, Cl 12.9

4шт.

Выбрано товаров: 28