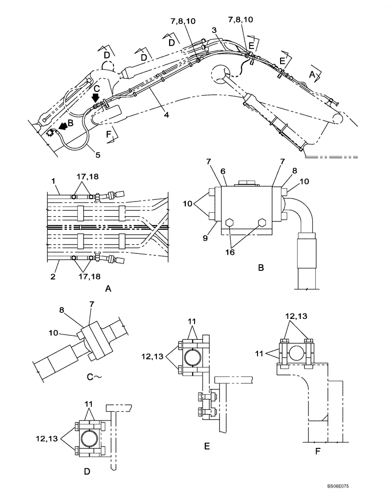
Запчасти Case CX800B (08-25) - HYDRAULIC CIRCUIT - PICK HAMMER - BOOM (7.25 M) - DIPPER (3.00 M) (08) - HYDRAULICS

Схема запчастей Case CX800B - (08-25) - HYDRAULIC CIRCUIT - PICK HAMMER - BOOM (7.25 M) - DIPPER (3.00 M) (08) - HYDRAULICS
18
10
5
8
18
12
8
12
10
7
17
1
7
9
4
6
7
13
8
12
17
13
7
10
16
11
13
10
3
8
10
11
7
11
2
FIT
1:1
100%

Артикул

Название

Примечание

Количество

1

KUV0217

HYD TUBE,38.6 mm ID x 48.6 mm OD

1шт.

2

KUV0219

HYD TUBE,38.6 mm ID x 48.6 mm OD

1шт.

3

KUV0051

HYDRAULIC HOSE,38.10 mm ID x 1550.00 mm

2шт.

4

KUV10540

HYD TUBE,38.6 mm ID x 48.6 mm OD

2шт.

5

KUV0063

HYDRAULIC HOSE,38.1mm ID x 2650mm L

2шт.

6

KUV0311

VALVE

See Figure 08-39

2шт.

7

168211A1

O-RING

10шт.

8

KTJ0169

FLANGE

16шт.

9

KUP0008

COUPLING FLANGE

2шт.

10

862-16050

HEX SOC SCREW,M16 x 50mm, Cl 12.9

40шт.

11

KUV0055

CLAMP BRACKET

24шт.

12

827-16090

BOLT,Hex, M16 x 2 x 90mm, Cl 10.9

24шт.

13

150814A1

WASHER,17mm ID x 32mm OD x 4.5mm Thk

W 16

24шт.

16

43281

BOLT,Hex, M16 x 2 x 120mm, Cl 10.9

4шт.

17

162659A1

PLUG

Incl. 18

4шт.

18

154523A1

O-RING

1шт.

Выбрано товаров: 16