Запчасти Case CX800B (08-26) - HYDRAULICS - AUXILIARY ATTACHMENT - STANDARD ARM (08) - HYDRAULICS

Схема запчастей Case CX800B - (08-26) - HYDRAULICS - AUXILIARY ATTACHMENT - STANDARD ARM (08) - HYDRAULICS
8
8
11
9
12
5
8
9
8
10
14
11
3
11
13
13
19
19
16
11
14
13
18
15
9
17
8
12
8
11
1
14
9
12
11
6
14
2
4
18
7
FIT
1:1
100%

Артикул

Название

Примечание

Количество

Arm 3,66 m (12 Ft)

1шт.

Standard Arm

1шт.

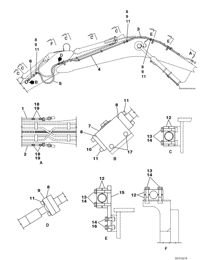
1

KUV0217

HYD TUBE,38.6 mm ID x 48.6 mm OD

1шт.

2

KUV0219

HYD TUBE,38.6 mm ID x 48.6 mm OD

1шт.

3

KUV0051

HYDRAULIC HOSE,38.10 mm ID x 1550.00 mm

2шт.

4

KUV10530

HYD TUBE,38.6 mm ID x 48.6 mm OD

2шт.

5

KUV0063

HYDRAULIC HOSE,38.1mm ID x 2650mm L

2шт.

6

KUV0062

HYD TUBE,38.6 mm ID x 48.6 mm OD

2шт.

7

KUV0311

VALVE

See Fig. 08-39

2шт.

8

168211A1

O-RING

12шт.

9

KTJ0169

FLANGE

Split

16шт.

10

KUP0008

COUPLING FLANGE

Flat

2шт.

11

862-16050

HEX SOC SCREW,M16 x 50mm, Cl 12.9

48шт.

12

KUV0055

CLAMP BRACKET

32шт.

13

827-16090

BOLT,Hex, M16 x 2 x 90mm, Cl 10.9

32шт.

14

150814A1

WASHER,17mm ID x 32mm OD x 4.5mm Thk

32шт.

15

KUV0070

PLATE

4шт.

16

627-16050

BOLT,Hex, M16 x 2 x 50mm, Cl 10.9, Full Thd

8шт.

17

43281

BOLT,Hex, M16 x 2 x 120mm, Cl 10.9

4шт.

18

162659A1

PLUG

4шт.

19

154523A1

O-RING

1шт.

Выбрано товаров: 21