Качественные детали и логистика
Оригинальные и аналоговые запчасти с доставкой по России, Казахстану и Беларуси
©2022 PartSell ООО "Система" ИНН 2463123282 ОГРН 1212400004838
Центральный офис: г. Красноярск, Академика Киренского, д.87, пом.4
Телефон: 8 (800) 777-65-74 Email: zakaz@partsell.ru
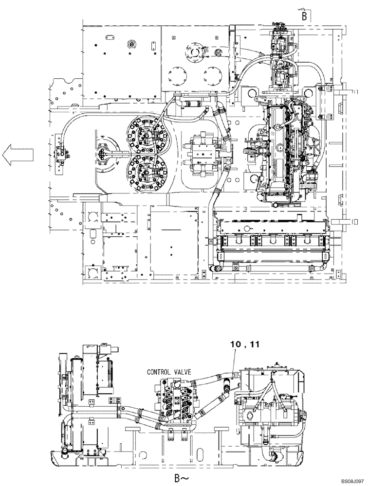
(08-27[02]) - HYDRAULIC CIRCUIT - PLUG, BLANK-OFF (WITHOUT SELF-DETACHING COUNTERWEIGHT SYSTEM)
№
Артикул
Название
Примечание
Количество
10
153105A1
PLUG
Incl. 11
1шт.
11
154475A1
O-RING
Выбрано товаров: 0