Запчасти Case CX800B (08-46) - SWING REDUCTION GEAR (08) - HYDRAULICS

Схема запчастей Case CX800B - (08-46) - SWING REDUCTION GEAR (08) - HYDRAULICS
30
11
11
8
13
15
25
6
12
18
19
22
28
11
14
24
37
23
7
27
9
5
6
6
11
21
6
16
17
35
32
11
2
31
33
34
26
36
6
4
20
10
11
29
FIT
1:1
100%

Артикул

Название

Примечание

Количество

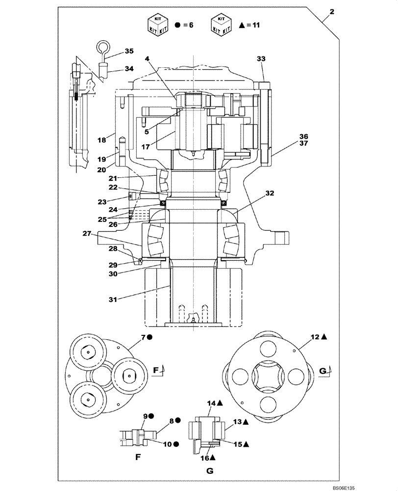
2

KUC10020

REDUCER

Incl. 4 - 37

1шт.

4

KUC10050

SUN GEAR

1шт.

5

KSC0212

PLATE, THRUST

1шт.

6

KSC0245

CARRIER

Incl. 7 - 10

1шт.

7

NSS

NOT SOLD SEPARAT

1шт.

8

NSS

NOT SOLD SEPARAT

3шт.

9

NSS

NOT SOLD SEPARAT

3шт.

10

NSS

NOT SOLD SEPARAT

3шт.

11

KSC0246

CARRIER

Incl. 12 - 16

1шт.

12

NSS

NOT SOLD SEPARAT

1шт.

13

NSS

NOT SOLD SEPARAT

4шт.

14

NSS

NOT SOLD SEPARAT

4шт.

15

NSS

NOT SOLD SEPARAT

4шт.

16

NSS

NOT SOLD SEPARAT

4шт.

17

KSC0219

SUN GEAR

1шт.

18

KUC10060

RING GEAR

1шт.

19

KTC0155

PIN

4шт.

20

KUC10070

HOUSING

1шт.

21

KSC0207

BEARING,120mm ID x 200mm OD x 62mm W

1шт.

22

KSC0210

SPACER

1шт.

23

150824A1

PLUG

1шт.

24

KTC0153

OIL SEAL

1шт.

25

158352A1

PLUG

2шт.

26

KSC0249

SPACER

1шт.

27

150491A1

ROLLER BEARING,130mm ID x 280mm OD x 93mm W

1шт.

28

KSC0250

BEARING COVER

1шт.

29

KSC0251

RETAINING WIRE

1шт.

30

KSC0214

SPACER

1шт.

31

KUC10080

GEAR SHAFT

1шт.

32

NSS

NOT SOLD SEPARAT

Grease

1шт.

33

150483A1

BOLT,Hex Skt, M20

12шт.

34

150435A1

COLUMN JACKET

1шт.

35

150438A1

GAUGE

1шт.

36

NSS

NOT SOLD SEPARAT

Name Plate

1шт.

37

NSS

NOT SOLD SEPARAT

Screw

2шт.

Выбрано товаров: 35