Качественные детали и логистика
Оригинальные и аналоговые запчасти с доставкой по России, Казахстану и Беларуси
©2022 PartSell ООО "Система" ИНН 2463123282 ОГРН 1212400004838
Центральный офис: г. Красноярск, Академика Киренского, д.87, пом.4
Телефон: 8 (800) 777-65-74 Email: zakaz@partsell.ru
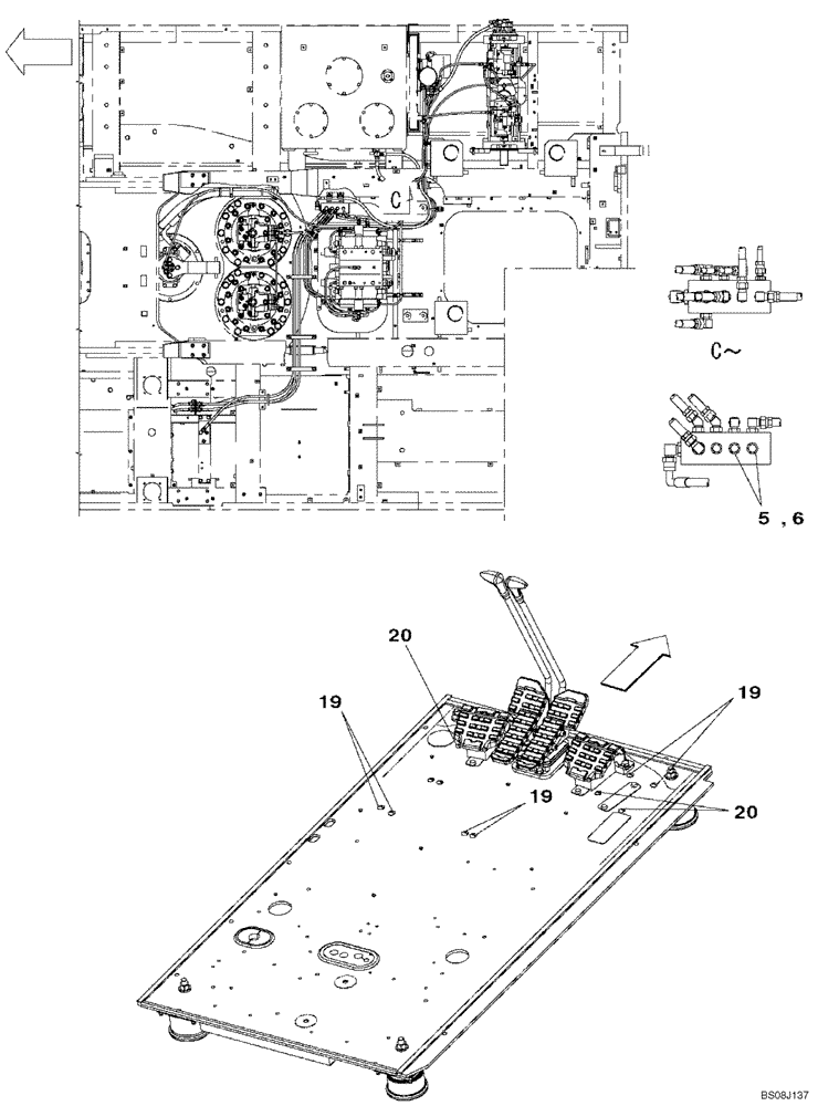
(08-64) - HYDRAULIC CIRCUIT - PLUG, BLANK-OFF (BREAKER PEDAL)
№
Артикул
Название
Примечание
Количество
5
159002A1
PLUG
Incl. 2
2шт.
6
154467A1
O-RING,10.8mm ID x 2.4mm Width
1шт.
19
KHJ15060
CAP
4шт.
20
KHJ15080
Выбрано товаров: 0