Запчасти Case CX800B (08-69) - VALVE, SOLENOID - PILOT PRESSURE, RETURN LINES (08) - HYDRAULICS

Схема запчастей Case CX800B - (08-69) - VALVE, SOLENOID - PILOT PRESSURE, RETURN LINES (08) - HYDRAULICS
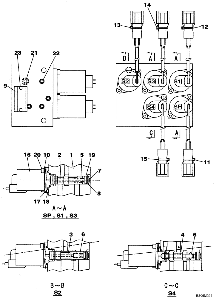
9
20
12
2
13
6
15
11
1
7
8
4
14
3
16
22
19
21
5
17
6
23
18
10
FIT
1:1
100%

Артикул

Название

Примечание

Количество

KHJ14520

SOLENOID VALVE

Incl. 1 - 23

1шт.

1

NSS

NOT SOLD SEPARAT

Body

1шт.

2

NSS

NOT SOLD SEPARAT

Spool

3шт.

3

NSS

NOT SOLD SEPARAT

Spool

1шт.

4

NSS

NOT SOLD SEPARAT

Spool

1шт.

5

LG006010

COMPRESSION SPRING

3шт.

6

LG006020

COMPRESSION SPRING

2шт.

7

LR015080

ADAPTER

5шт.

8

LA010960

SNAP RING

5шт.

9

NSS

NOT SOLD SEPARAT

Name Plate

1шт.

10

LA010970

SPRING WASHER

10шт.

11

LD001470

COLLAR

1шт.

12

LD001450

COLLAR

1шт.

13

LD001440

COLLAR

1шт.

14

LD001490

COLLAR

1шт.

15

LD001460

MOUNTING CLIP

1шт.

16

LL001140

SOLENOID

Incl. 17, 18

5шт.

17

155188A1

O-RING

1шт.

18

154487A1

O-RING

1шт.

19

154463A1

O-RING

5шт.

20

LA010980

BOLT,Hex Skt Hd

10шт.

21

LK005630

PLUG

6шт.

22

LK005640

PLUG

11шт.

23

NSS

NOT SOLD SEPARAT

Rivet

2шт.

Выбрано товаров: 24