Запчасти Case CX800B (09-20) - CAB HEAD GUARD - WINDSHIELD, UPPER (09) - CHASSIS

Схема запчастей Case CX800B - (09-20) - CAB HEAD GUARD - WINDSHIELD, UPPER (09) - CHASSIS
6
14
9
20
5
15
11
17
12
7
18
5
7
16
2
5
1
19
8
20
19
5
4
17
15
21
10
9
13
18
3
21
14
6
6
6
16
FIT
1:1
100%

Артикул

Название

Примечание

Количество

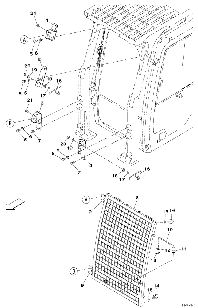
1

KHN21360

SUPPORT

1шт.

2

KHN21370

SUPPORT

1шт.

3

KHN16950

BRACKET

1шт.

4

KHN16960

BRACKET

1шт.

5

102R016Y025R

BOLT

M12 x 25

4шт.

6

150814A1

WASHER,17mm ID x 32mm OD x 4.5mm Thk

4шт.

7

105R012Y030R

BOLT

M12 x 30

2шт.

8

KHN16861

STONEGUARD

Incl. 9

1шт.

9

KHN16890

HINGE

2шт.

10

KHN16910

STAY

2шт.

11

KHN16920

GROMMET

1шт.

12

182-010SR

WASHER

1шт.

13

153181A1

COTTER PIN

1шт.

14

151108A1

STOP

2шт.

15

KBH0446

NUT

M10x1.25

2шт.

16

KHN16970

LEVER

2шт.

17

896-11016

WASHER,17.5mm ID x 30mm OD x 4mm Thk

2шт.

18

157560A1

WAVE WASHER

2шт.

19

150811A1

WASHER

2шт.

20

829-1412

NUT,M12, Cl 10.9

2шт.

21

166351A1

BOLT,Sems, M10 x 20mm

M10 x 20

4шт.

Выбрано товаров: 21