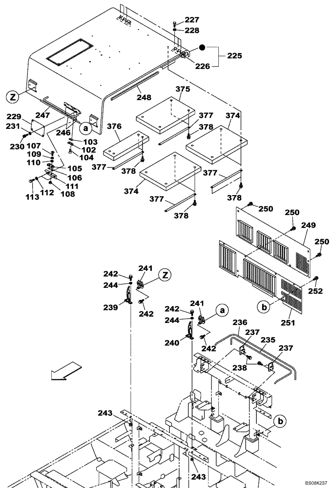
Запчасти Case CX800B (09-74) - COWLING - ENGINE COVER (09) - CHASSIS

Схема запчастей Case CX800B - (09-74) - COWLING - ENGINE COVER (09) - CHASSIS
250
230
231
228
106
248
242
237
378
113
374
108
247
241
240
107
103
251
250
249
246
241
239
243
376
243
378
377
378
250
226
244
110
229
104
377
244
242
236
378
252
109
374
235
227
237
111
102
377
112
105
375
242
225
377
242
238
FIT
1:1
100%

Артикул

Название

Примечание

Количество

102

KUN0149

CUPEL

1шт.

103

KBN0762

PLATE

1шт.

104

KAB0188

SCREW

2шт.

105

KUN0150

CUPEL

1шт.

106

KBN0761

PLATE

1шт.

107

KAB0188

SCREW

2шт.

108

829-1408

NUT,Hex, M8 x 1.25, Cl 10.9

2шт.

109

895-11008

WASHER,9mm ID x 16mm OD x 1.6mm Thk

2шт.

110

183-108VR

SPRING WASHER

2шт.

111

KWN0128

SUPPORT

1шт.

112

627-12025

BOLT,Hex, M12 x 1.75 x 25mm, Cl 10.9, Full Thd

2шт.

113

151161A1

WASHER

2шт.

225

KUN10071G1

ENGINE HOOD PANEL

Incl. 226

1шт.

Include(s) 226

1шт.

226

152819A1

HINGE

2шт.

227

627-12035

BOLT,Hex, M12 x 1.75 x 35mm, Cl 10.9, Full Thd

6шт.

228

150811A1

WASHER

6шт.

229

KWN10080G1

PROTECTION PLATE

1шт.

230

KHJ1632

BOLT,Hex Skt Hd

4шт.

231

150604A1

WASHER

4шт.

235

KWN0058

TORSION SPRING

1шт.

236

KWN0059

TORSION SPRING

1шт.

237

KWN0060

SUPPORT

2шт.

238

166352A1

BOLT

4шт.

239

151356A1

LOCK ASSY

1шт.

240

151361A1

HANDLE

1шт.

241

150785A1

STOP LOCK

2шт.

242

167182A1

BOLT,Sems, M8 x 25mm

8шт.

243

829-1408

NUT,Hex, M8 x 1.25, Cl 10.9

4шт.

244

153081A1

WASHER

4шт.

246

167721A1

SUPPORT LINING

2шт.

247

KWN10500

SUPPORT LINING

1шт.

248

KMN1921

SUPPORT LINING

2шт.

249

KUN10451G1

COVER

1шт.

250

152718A1

BOLT,Spcl, Hex Wshr, M12 x 25mm, Cl 10.9

9шт.

251

KUN10521G1

COVER

1шт.

252

152718A1

BOLT,Spcl, Hex Wshr, M12 x 25mm, Cl 10.9

2шт.

374

KWN0080

FOAM

2шт.

375

KWN0081

FOAM

1шт.

376

KWN0082

FOAM

1шт.

377

KWN0083

SEAL RETAINER

8шт.

378

166345A1

BOLT

16шт.

Выбрано товаров: 42