Качественные детали и логистика
Оригинальные и аналоговые запчасти с доставкой по России, Казахстану и Беларуси
©2022 PartSell ООО "Система" ИНН 2463123282 ОГРН 1212400004838
Центральный офис: г. Красноярск, Академика Киренского, д.87, пом.4
Телефон: 8 (800) 777-65-74 Email: zakaz@partsell.ru
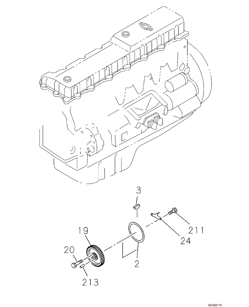
(02-29) - COUPLING
№
Артикул
Название
Примечание
Количество
2
426265A1
GASKET
1шт.
3
426266A1
KEY
19
87385627
GEAR
Z 54
20
426272A1
BOLT
M12 x 39
5шт.
24
87385628
POINTER
211
87597950
2шт.
213
426276A1
SPLIT PIN/SAFETY PIN
Выбрано товаров: 0