Запчасти Case CX130C (35.353.AG) - TRAVEL MOTOR & REDUCTION GEAR (35) - HYDRAULIC SYSTEMS

Схема запчастей Case CX130C - (35.353.AG) - TRAVEL MOTOR & REDUCTION GEAR (35) - HYDRAULIC SYSTEMS
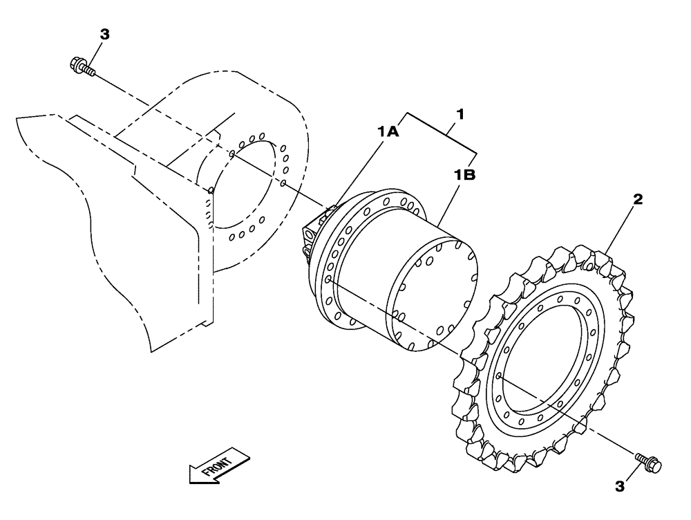
3
1a
1
2
1b
3
FIT
1:1
100%

Артикул

Название

Примечание

Количество

1

KNA10520

MOTO-REDUCTION GEAR

Incl 1A, 1B

2шт.

1

KNA10520R

REMAN-MOTO REDUCTION

Reman For New P/N KNA10520

2шт.

1

KNA10520C

CORE-MOTO-REDUCTION UNIT

Return Number

2шт.

1a

LJ015920

HYDRAULIC MOTOR

Motor

1шт.

1b

LN002260

REDUCER

Reduction Gear

1шт.

1b

LN002260R

REMAN-REDUCTION UNIT

CX130C CRAWLER EXCAVATOR - TIER 4 (NA), REDUCTION GEAR (4/12-)

1шт.

1b

LN002260C

CORE-REDUCTION UNIT

Return Number

1шт.

2

KNA0826

WHEEL GEAR

2шт.

3

166348A1

BOLT

M16 x 45

66шт.

4

153591A1

GLUE

Not Shown

1шт.

Выбрано товаров: 10