Запчасти Case CX130C (35.359.AB[18]) - DIRECTIONAL CONTROL VALVE - COMPONENTS (35) - HYDRAULIC SYSTEMS

Схема запчастей Case CX130C - (35.359.AB[18]) - DIRECTIONAL CONTROL VALVE - COMPONENTS (35) - HYDRAULIC SYSTEMS
103
102
162
148
89
94
117
92
94
173
103
161
169
172
171
103
87
104
100
102
94
116
98
95
101
163
147
162
168
96
165
166
112
97
99
106
146
88
101
101
105
96
95
93
170
96
95
99
100
100
90
99
86
164
149
174
167
91
98
FIT
1:1
100%

Артикул

Название

Примечание

Количество

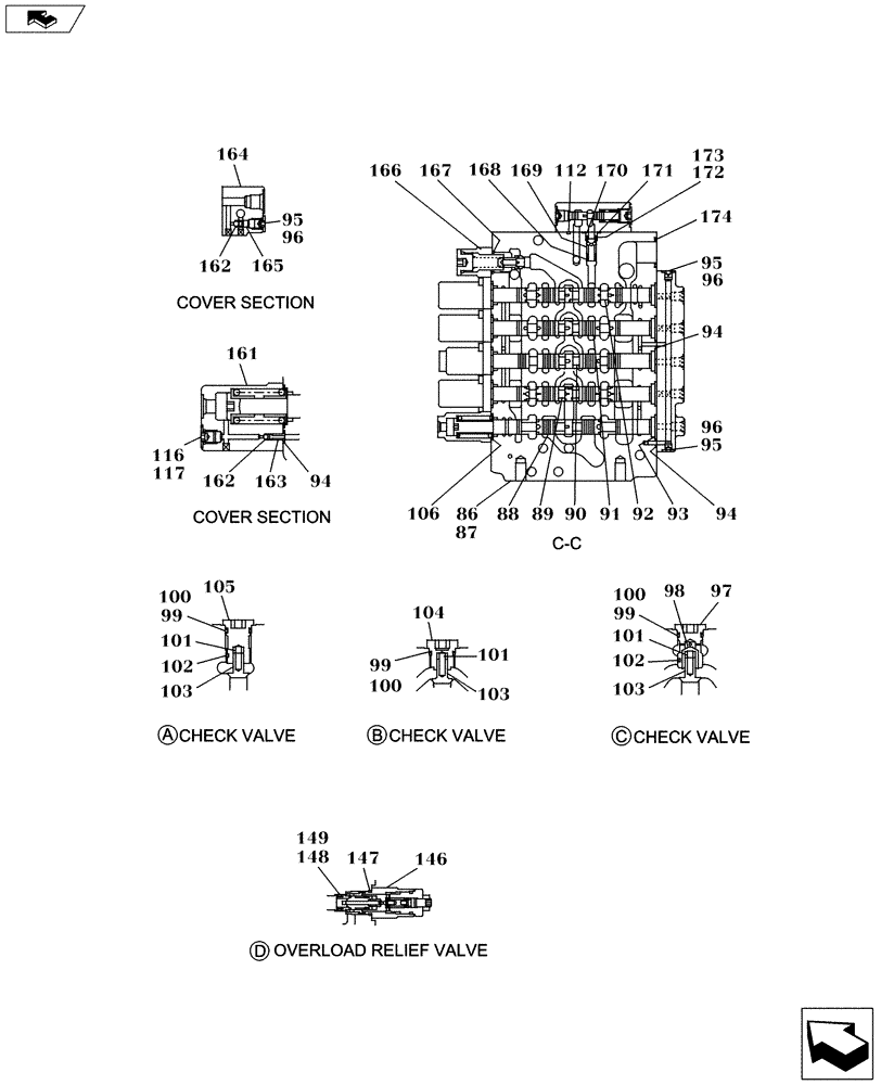
86

NSS

NOT SOLD SEPARAT

Incl in 1 of Fig 35.359.AB (14)

1шт.

87

NSS

NOT SOLD SEPARAT

Incl in 1 of Fig 35.359.AB (14)

1шт.

88

NSS

NOT SOLD SEPARAT

Incl in 1 of Fig 35.359.AB (14)

1шт.

89

NSS

NOT SOLD SEPARAT

Incl in 1 of Fig 35.359.AB (14)

1шт.

90

NSS

NOT SOLD SEPARAT

Incl in 1 of Fig 35.359.AB (14)

1шт.

91

NSS

NOT SOLD SEPARAT

Incl in 1 of Fig 35.359.AB (14)

1шт.

92

NSS

NOT SOLD SEPARAT

Incl in 1 of Fig 35.359.AB (14)

1шт.

93

160805A1

O-RING

5шт.

94

154463A1

O-RING

9шт.

95

160902A1

CAP

14шт.

96

154455A1

O-RING

15шт.

97

LR016340

PLUG

1шт.

98

155920A1

VALVE, CHECK

3шт.

99

153976A1

BACK-UP RING

6шт.

100

154495A1

O-RING

5шт.

101

156027A1

SPRING

5шт.

102

155295A1

BALL

2шт.

103

LJ014920

VALVE PRESSURE RELIE

5шт.

104

LR015560

PLUG

3шт.

105

160974A1

CAP

1шт.

106

160806A1

O-RING

5шт.

112

154487A1

O-RING

4шт.

113

LJ014970

SPOOL

1шт.

114

LH005000

SLEEVE

1шт.

115

LJ00596

JACK PISTON

1шт.

116

160306A1

CAP

6шт.

117

154467A1

O-RING,10.8mm ID x 2.4mm Width

7шт.

146

LJ016730

VALVE PRESSURE RELIE

3шт.

147

154495A1

O-RING

2шт.

148

154402A1

BACK-UP RING

3шт.

149

155063A1

O-RING

2шт.

161

LW005180

CAP

3шт.

162

LX00007

BALL

6шт.

163

LK005730

PLUG

3шт.

164

LW005190

CAP

1шт.

165

LK005720

PLUG

3шт.

166

LJ017190

VALVE PRESSURE RELIE

1шт.

167

154523A1

O-RING

1шт.

168

LSC0204

SPRING

1шт.

169

LPC0125

CHECK VALVE

1шт.

170

LR00556

VALVE SEAT

1шт.

171

154491A1

O-RING

1шт.

172

154471A1

O-RING

1шт.

173

153958A1

BACK-UP RING

1шт.

174

LBQ6222

O-RING

1шт.

Выбрано товаров: 45