Запчасти Case CX130C (35.736.AC[07]) - BOOM CYLINDER LINES (35) - HYDRAULIC SYSTEMS

Схема запчастей Case CX130C - (35.736.AC[07]) - BOOM CYLINDER LINES (35) - HYDRAULIC SYSTEMS
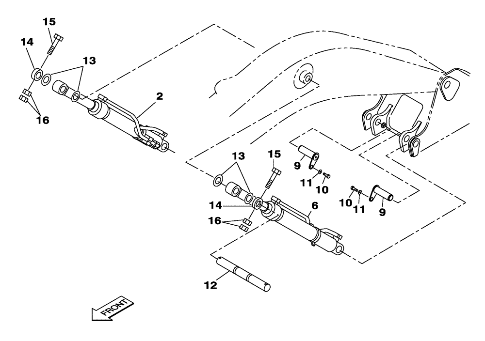
6
16
15
15
12
13
11
14
10
13
16
14
11
2
10
9
9
FIT
1:1
100%

Артикул

Название

Примечание

Количество

2

KNV14330

HYDRAULIC CYLINDER

1шт.

2

KNV14330R

REMAN-HYD CYLINDER

CX130C CRAWLER EXCAVATOR, TIER 4 (NA) (4/12-)

1шт.

2

KNV14330C

CORE-HYD CYLINDER

Return Number

1шт.

6

KNV14340

HYDRAULIC CYLINDER

1шт.

6

KNV14340R

REMAN-HYD CYLINDER

CX130C CRAWLER EXCAVATOR, TIER 4 (NA) (4/12-)

1шт.

6

KNV14340C

CORE-HYD CYLINDER

Return Number

1шт.

9

KNV13450

PIN

2шт.

10

627-12025

BOLT,Hex, M12 x 1.75 x 25mm, Cl 10.9, Full Thd

2шт.

11

157141A1

WASHER

2шт.

12

169079A1

PIN

1шт.

13

160745A1

ADJUSTING PLATE

4шт.

14

KNV1247

RING, LOCKING

2шт.

15

514-1038

BOLT,Hex, M16 x 1.5 x 160mm, Cl 10.9

2шт.

16

829-13416

NUT,M16 x 1.5, Cl 10

4шт.

Выбрано товаров: 14