Запчасти Case CX130C (48.100.AD[01]) - GROUSER SHOE - 700 MM SEAL (48) - TRACKS & TRACK SUSPENSION

Схема запчастей Case CX130C - (48.100.AD[01]) - GROUSER SHOE - 700 MM SEAL (48) - TRACKS & TRACK SUSPENSION
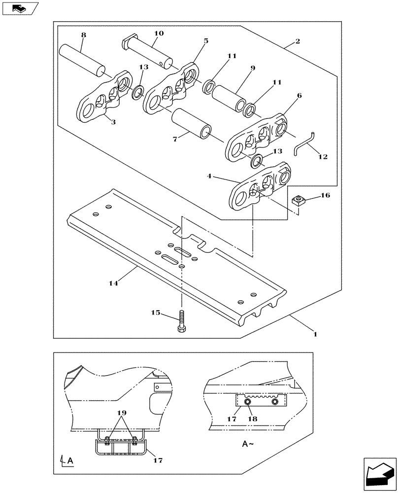
16
1
10
7
3
9
11
13
15
13
4
6
5
17
17
14
8
2
12
19
18
11
FIT
1:1
100%

Артикул

Название

Примечание

Количество

1

NSS

NOT SOLD SEPARAT

Shoe Grouser, Incl in KG0NA215-00

2шт.

2

KNA11100

CHAIN (CE)

Incl 3 - 13

2шт.

3

168860A1

LINK CHAIN

90шт.

4

168861A1

LINK CHAIN

90шт.

5

168862A1

LINK CHAIN

2шт.

6

168863A1

LINK CHAIN

2шт.

7

KNA10700

BUSHING

90шт.

8

KNA10870

PIN

90шт.

9

168646A1

BUSHING

2шт.

10

168866A1

PIN

2шт.

11

168867A1

COLLAR

4шт.

12

168650A1

COTTER PIN

2шт.

13

KNA10710

SEAL

180шт.

14

KNA0776

TRACK SHOE

92шт.

15

161062A1

BOLT,Spher Hex, M16 x 1.5 x 46mm

368шт.

16

161063A1

NUT

368шт.

17

KHA0044

STEP

4шт.

18

165929A1

BOLT,Sems, M16

8шт.

19

829-1416

NUT,M16, Cl 10

8шт.

Выбрано товаров: 19