Запчасти Case CX130C (48.138.AD) - LOWER ROLLER (48) - TRACKS & TRACK SUSPENSION

Схема запчастей Case CX130C - (48.138.AD) - LOWER ROLLER (48) - TRACKS & TRACK SUSPENSION
6
8
4
10
5
9
4
6
7
11
1
3
9
2
5
FIT
1:1
100%

Артикул

Название

Примечание

Количество

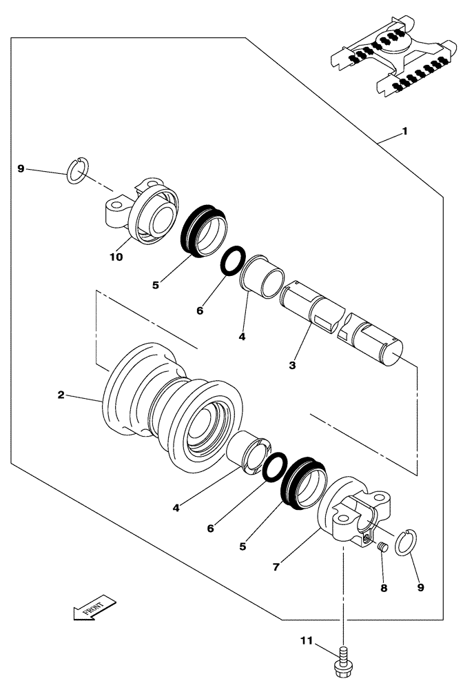
1

KNA10600

TRACK ROLLER

Incl 2 - 10

14шт.

2

KNA10930

TRACK ROLLER

14шт.

3

KNA0707

SHAFT

14шт.

4

160695A1

RING

28шт.

5

152125A1

OIL SEAL

28шт.

6

154587A1

O-RING

28шт.

7

KNA0708

CASING, BEARING ROLL

14шт.

8

150821A1

PLUG

14шт.

9

160396A1

CLIP

28шт.

10

KNA0787

CASING, BEARING ROLL

14шт.

11

166349A1

BOLT,Sems, M16 x 65mm

M16 x 65

56шт.

Выбрано товаров: 11