Запчасти Case CX130C (55.015.AA[02]) - ELECTRIC CONTROL AND OTHER PARTS (55) - ELECTRICAL SYSTEMS

Схема запчастей Case CX130C - (55.015.AA[02]) - ELECTRIC CONTROL AND OTHER PARTS (55) - ELECTRICAL SYSTEMS
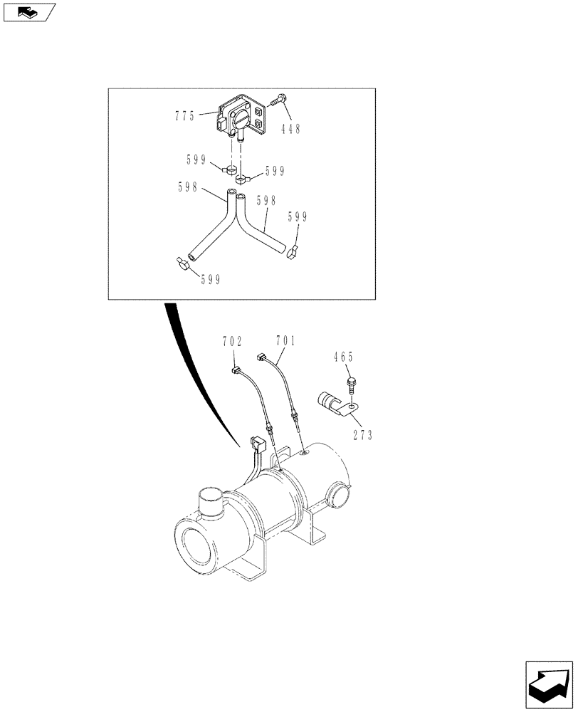
599
598
273
599
599
599
465
702
598
775
448
701
FIT
1:1
100%

Артикул

Название

Примечание

Количество

273

87729976

CABLE CLIP

2шт.

448

87595866

BOLT

2шт.

465

87595938

BOLT

1шт.

598

84410073

LARGE HOSE

2шт.

599

84387995

HOSE CLIP

4шт.

701

84387999

SENSOR

DPF, Dark Gray (Temp) Replaced by 47430433

1шт.

701

47430433

TEMPERATURE SENDER

DPF, Dark Gray (Temp)

1шт.

702

84388001

SENSOR

DPF, Light Gray (Temp) Replaced by 47430434

1шт.

702

47430434

TEMPERATURE SENDER

DPF, Light Gray (Temp)

1шт.

775

84364504

SENSOR,DPF (Pressure)

DPF (Pressure)

1шт.

Выбрано товаров: 10