Запчасти Case CX130C (84.912.AA[01]) - DIPPER- STANDARD, 2.50M (ANZ) (84) - BOOMS, DIPPERS & BUCKETS

Схема запчастей Case CX130C - (84.912.AA[01]) - DIPPER- STANDARD, 2.50M (ANZ) (84) - BOOMS, DIPPERS & BUCKETS
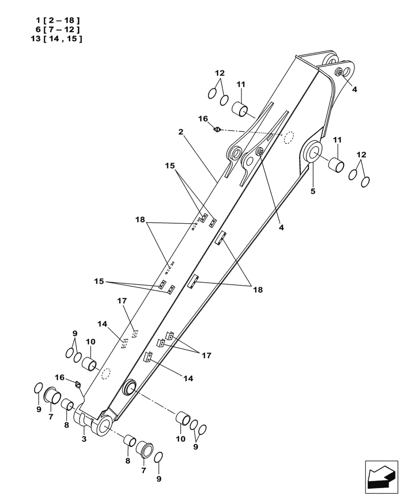
11
18
17
9
6
10
17
13
8
1
16
14
12
16
2
9
18
1
8
1
15
7
10
12
4
3
14
9
5
4
7
15
9
FIT
1:1
100%

Артикул

Название

Примечание

Количество

1

KNV24650

DIPPER

1шт.

2

NSS

NOT SOLD SEPARAT

Arm

1шт.

3

NSS

NOT SOLD SEPARAT

Boss Casted

1шт.

4

NSS

NOT SOLD SEPARAT

Bar, Base

1шт.

5

NSS

NOT SOLD SEPARAT

Boss Casted

1шт.

6

NSS

NOT SOLD SEPARAT

Arm, Back Hoe

1шт.

7

KNV1130

BUSHING

2шт.

8

KNV17560

BUSHING

2шт.

9

160674A1

SEAL,65mm ID x 80mm OD x 5mm Thk

6шт.

10

KNV1138

BUSHING,65mm ID x 80mm OD x 50mm L

2шт.

11

KNV1144

SELF LUB RING

2шт.

12

160400A1

SEAL,75mm ID x 90mm OD x 5mm Thk

4шт.

13

NSS

NOT SOLD SEPARAT

Arm Addition

1шт.

14

NSS

NOT SOLD SEPARAT

Bar, Base

1шт.

15

NSS

NOT SOLD SEPARAT

Bar, Base

1шт.

16

153630A1

LUBE NIPPLE

2шт.

17

NSS

NOT SOLD SEPARAT

Bar, Base

1шт.

18

NSS

NOT SOLD SEPARAT

Bar, Base

1шт.

Выбрано товаров: 18