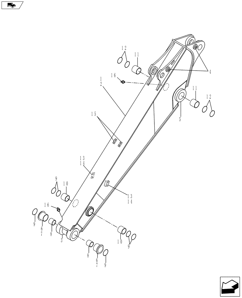
Запчасти Case CX130C (84.912.AA[03]) - DIPPER - SHORT, 2.10 M (84) - BOOMS, DIPPERS & BUCKETS

Схема запчастей Case CX130C - (84.912.AA[03]) - DIPPER - SHORT, 2.10 M (84) - BOOMS, DIPPERS & BUCKETS
8
1
6
9
6
13
4
9
12
5
16
15
3
14
2
7
11
8
7
1
12
11
10
16
1
10
9
13
1
9
1
14
FIT
1:1
100%

Артикул

Название

Примечание

Количество

1

KNV24790

DIPPER

1шт.

2

NSS

NOT SOLD SEPARAT

Incl in 1

1шт.

3

NSS

NOT SOLD SEPARAT

Incl in 1

1шт.

4

KRV11490

BAR

2шт.

5

NSS

NOT SOLD SEPARAT

Incl in 1

1шт.

6

NSS

NOT SOLD SEPARAT

Incl in 1

1шт.

7

KNV1130

BUSHING

2шт.

8

KNV17560

BUSHING

2шт.

9

160674A1

SEAL,65mm ID x 80mm OD x 5mm Thk

6шт.

10

KNV1138

BUSHING,65mm ID x 80mm OD x 50mm L

2шт.

11

KNV1144

SELF LUB RING

2шт.

12

160400A1

SEAL,75mm ID x 90mm OD x 5mm Thk

4шт.

13

NSS

NOT SOLD SEPARAT

Incl in 1

1шт.

14

KHV10930

BAR

2шт.

15

KHV10540

BAR

2шт.

16

153630A1

LUBE NIPPLE

2шт.

Выбрано товаров: 16