Запчасти Case CX130C (10.216.BA[02]) - FUEL LINE (10) - ENGINE

Схема запчастей Case CX130C - (10.216.BA[02]) - FUEL LINE (10) - ENGINE
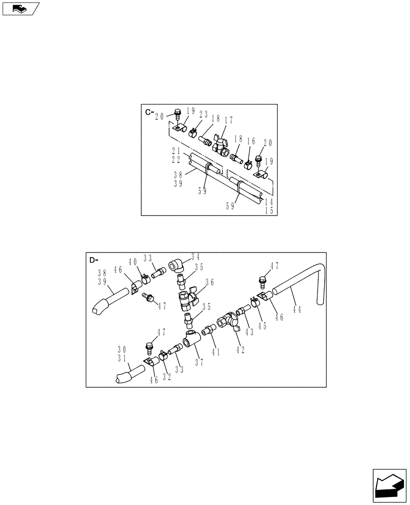
44
38
20
39
32
46
18
14
16
31
33
38
46
47
34
36
19
35
43
20
22
40
19
47
45
42
17
59
33
46
47
39
30
41
37
18
15
21
35
59
23
FIT
1:1
100%

Артикул

Название

Примечание

Количество

14

KHH10800

FLEXIBLE HOSE

1шт.

15

158065A1

PLASTIC-RUBBER TUBE

1шт.

16

KHH0405

MOUNTING CLIP

2шт.

17

158923A1

DRAIN VALVE

1шт.

18

157929A1

FITTING

2шт.

19

162148A1

CLIP

2шт.

20

KHJ1215

BOLT,Spcl

2шт.

21

KHH13910

FLEXIBLE HOSE

1шт.

22

NSS

NOT SOLD SEPARAT

Sleeve, Incl in KG0NH224

1шт.

23

KHH0405

MOUNTING CLIP

2шт.

30

KHH13580

FUEL HOSE

1шт.

31

KHR21050

PLASTIC-RUBBER TUBE

1шт.

32

KHH0405

MOUNTING CLIP

2шт.

33

157929A1

FITTING

2шт.

34

152218A1

ELBOW

1шт.

35

150847A1

HYD CONNECTOR

2шт.

36

158923A1

DRAIN VALVE

1шт.

37

152135A1

TEE

1шт.

38

KHH0482

FLEXIBLE HOSE

1шт.

39

KHR11730

FLEXIBLE SHEATH

1шт.

40

KHH0405

MOUNTING CLIP

2шт.

41

150847A1

HYD CONNECTOR

1шт.

42

158923A1

DRAIN VALVE

1шт.

43

157929A1

FITTING

1шт.

44

KHH14170

FUEL HOSE

1шт.

45

KHH0405

MOUNTING CLIP

1шт.

46

162148A1

CLIP

3шт.

47

KHJ1215

BOLT,Spcl

3шт.

59

150496A1

MOUNTING CLIP

21шт.

Выбрано товаров: 29