Запчасти Case CX130C (35.352.AJ[01]) - MOTOR REDUCTION GEAR SWING - COMPONENTS (35) - HYDRAULIC SYSTEMS

Схема запчастей Case CX130C - (35.352.AJ[01]) - MOTOR REDUCTION GEAR SWING - COMPONENTS (35) - HYDRAULIC SYSTEMS
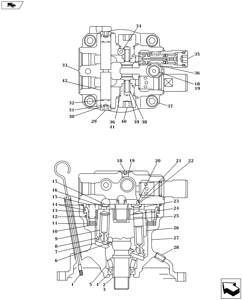
19
13
39
34
10
14
25
15
12
31
2
18
33
9
38
37
36
21
35
28
41
26
16
24
6
23
17
20
30
8
42
7
36
5
19
18
27
1
32
22
11
29
3
4
40
FIT
1:1
100%

Артикул

Название

Примечание

Количество

1

KRC0172

DIPSTICK

1шт.

2

LJ016070

HYDRAULIC MOTOR

Incl 3 - 42

1шт.

2

LJ016070R

REMAN-HYD MOTOR

CX130C CRAWLER EXCAVATOR - TIER 4 (NA) (4/12-)

1шт.

2

LJ016070C

CORE-MOTOR HYDRAULIC

Return Number

1шт.

3

160941A1

SEALING RING

1шт.

4

160780A1

OIL SEAL

1шт.

5

160966A1

TAPERED BEARING,30mm ID x 62mm OD x 21.25mm W

1шт.

6

160993A1

BACK-UP RING

1шт.

7

160940A1

LARGE PLATE

1шт.

8

160994A1

TRAY

1шт.

9

NSS

NOT SOLD SEPARAT

Incl in 2

9шт.

10

160996A1

BRAKE DISC

2шт.

11

160995A1

DISC

2шт.

12

161060A1

O-RING

1шт.

13

160938A1

PISTON

1шт.

14

161061A1

O-RING

2шт.

15

156077A1

SPRING

16шт.

16

LE00774

RING

2шт.

17

LJ00722

PISTON

2шт.

18

160306A1

CAP

3шт.

19

154467A1

O-RING,10.8mm ID x 2.4mm Width

3шт.

20

LG00336

SPRING

4шт.

21

LE00775

RING

4шт.

22

LB00543

BUSHING

4шт.

23

LR00572

ACTUATING PLATE

1шт.

24

160967A1

BEARING, NEEDLE,22 mm ID x 35 mm OD x 20 mm

1шт.

25

160867A1

RING, SNAP

1шт.

26

NSS

NOT SOLD SEPARAT

Incl in 2

1шт.

27

NSS

NOT SOLD SEPARAT

Incl in 2

1шт.

28

151033A1

PLUG

1шт.

29

LZC0156

CAP

2шт.

30

166176A1

BACK-UP RING

2шт.

31

154487A1

O-RING

2шт.

32

154471A1

O-RING

2шт.

33

NSS

NOT SOLD SEPARAT

Incl in 2

1шт.

34

160859A1

DOWEL

2шт.

35

LJ016080

VALVE PRESSURE RELIE

2шт.

36

154515A1

O-RING

4шт.

37

108R014Z045B

BOLT

4шт.

38

155944A1

PLUNGER

2шт.

39

156079A1

SPRING

2шт.

40

156305A1

CAP

2шт.

41

153991A1

BACK-UP RING

2шт.

42

LK005600

PLUG

2шт.

Выбрано товаров: 44