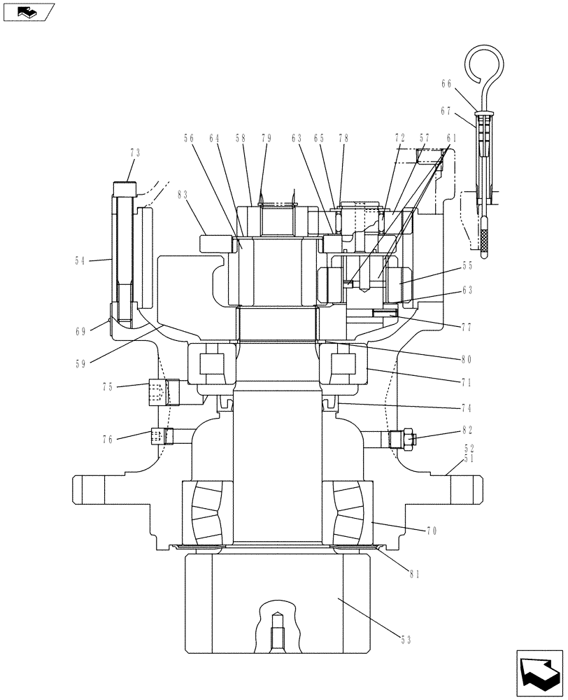
Запчасти Case CX145C SR (35.353.AD[07]) - TRAVEL MOTOR & REDUCTION GEAR OFFSET (35) - HYDRAULIC SYSTEMS

Схема запчастей Case CX145C SR - (35.353.AD[07]) - TRAVEL MOTOR & REDUCTION GEAR OFFSET (35) - HYDRAULIC SYSTEMS
80
51
67
63
76
52
58
53
57
70
73
77
83
74
64
81
63
75
65
79
54
55
82
56
61
69
72
78
71
home
66
59
FIT
1:1
100%

Артикул

Название

Примечание

Количество

51

LN003340

HYDRAULIC MOTOR

Reduction Gears, Incl 52 - 83

1шт.

51

LN003340R

REMAN-REDUCTION UNIT

CX145C SR CRAWLER EXCAVATOR - TIER 4 (NA), Reduction Gears (8/12-)

1шт.

51

LN003340C

CORE-REDUCTION UNIT

Return Number

1шт.

52

LZM0383

HOUSING

1шт.

53

LB00745

DRIVE SHAFT

1шт.

54

LDM0220

RING GEAR

1шт.

55

LDM0221

PLANETARY GEAR

4шт.

56

LDM0222

SUN GEAR

1шт.

57

LDM0223

PLANETARY GEAR

3шт.

58

LDM0224

SUN GEAR

1шт.

59

LDM0225

FRAME ASSY

1шт.

61

LMM0600

DOWEL

4шт.

63

LMM0601

WASHER

7шт.

64

LUM0191

WASHER

1шт.

65

LMM0602

PLATE

3шт.

66

155671A1

DIPSTICK

1шт.

67

155488A1

PIPE

1шт.

69

LA00027

RIVET

2шт.

70

LTM0237

ROLLER BEARING

1шт.

71

LB014910

ROLLER CAGE BEARING

1шт.

72

LTM0239

ROLLER BEARING

3шт.

73

862-12100

HEX SOC SCREW,M12 x 100mm, Cl 12.9

10шт.

74

LAM0075

OIL SEAL

1шт.

75

155497A1

PLUG

1шт.

76

LLM0108

PLUG

1шт.

77

738-1620

LOCK PIN,6mm OD x 20mm L, Slotted

4шт.

78

370A0300Z

SNAP RING

3шт.

79

800-1125

SNAP RING,M25, Ext

1шт.

80

LA00571

SNAP RING

1шт.

81

LAM0076

SEAL

1шт.

82

LJ019380

VALVE

Relief

1шт.

83

LDM0226

PINION CARRIER

1шт.

Выбрано товаров: 32