Запчасти Case CX145C SR (35.354.AA) - CENTER JOINT - HBCV (35) - HYDRAULIC SYSTEMS

Схема запчастей Case CX145C SR - (35.354.AA) - CENTER JOINT - HBCV (35) - HYDRAULIC SYSTEMS
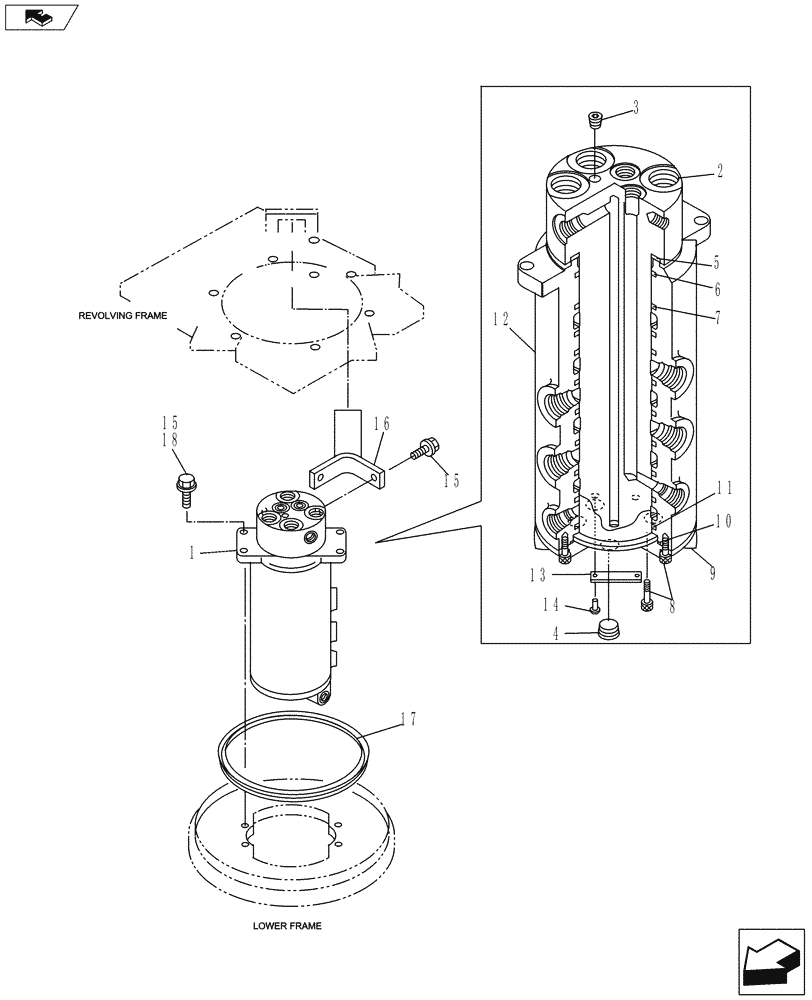
1
15
6
2
16
home
8
18
14
12
9
13
15
7
11
10
5
3
4
17
FIT
1:1
100%

Артикул

Название

Примечание

Количество

1

KRA12010

HYDRAULIC SWIVEL

Incl 2 - 14

1шт.

1

KRA12010R

REMAN-HYDRAULIC SWIV

CX145C SR CRAWLER EXCAVATOR - TIER 4 (NA) (8/12-)

1шт.

1

KRA12010C

CORE-HYDRAULIC SWIV

Return Number

1шт.

2

KRA12030

PIN

Incl 3 - 4

1шт.

3

150821A1

PLUG

1шт.

4

150829A1

PLUG

4шт.

5

168443A1

SEALING RING

1шт.

6

154732A1

O-RING

1шт.

7

169059A1

SEALING RING

9шт.

8

861-8020

HEX SOC SCREW,M8 x 20mm, Cl 12.9

8шт.

9

168449A1

COVER

1шт.

10

154769A1

O-RING

1шт.

11

168447A1

TRAY

1шт.

12

KNA0858

ROTOR

1шт.

13

152593A1

TYPE PLATE

1шт.

14

301-1413

DRIVE SCREW,Drive, #2 x 3/16"

2шт.

15

166352A1

BOLT

2шт.

16

KRA12020

LOCKING BAR

1шт.

17

KRA11090

SEALING RING

1шт.

18

105R012Y045R

BOLT

4шт.

Выбрано товаров: 20