Запчасти Case CX145C SR (35.359.AB[04]) - DIRECTIONAL CONTROL VALVE (35) - HYDRAULIC SYSTEMS

Схема запчастей Case CX145C SR - (35.359.AB[04]) - DIRECTIONAL CONTROL VALVE (35) - HYDRAULIC SYSTEMS
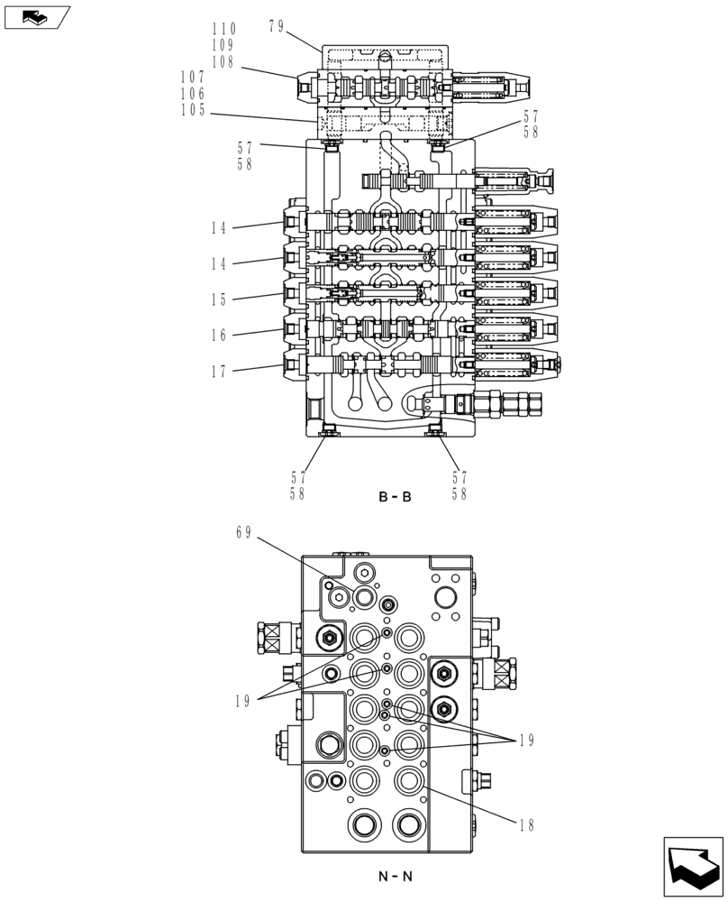
19
57
15
69
57
107
110
58
14
108
105
home
106
109
57
18
79
58
58
57
58
14
17
16
19
FIT
1:1
100%

Артикул

Название

Примечание

Количество

14

LR019940

CAP

2шт.

15

LR019950

CAP

1шт.

16

LR019960

CAP

1шт.

17

LR019970

CAP

1шт.

18

154549A1

O-RING

20шт.

19

154463A1

O-RING

10шт.

57

163369A1

PLUG

17шт.

58

154475A1

O-RING

17шт.

69

154514A1

O-RING

2шт.

79

LT002490

HOUSING

Valve Outlet

1шт.

105

LJ014770

CONNECTING BLOCK

1шт.

106

154625A1

O-RING

1шт.

107

LE012520

O-RING

3шт.

108

LJ014760

HYD VALVE SECTION

1шт.

109

154625A1

O-RING

1шт.

110

LE012520

O-RING

3шт.

Выбрано товаров: 16