Запчасти Case CX145C SR (35.359.AB[08]) - SELECTOR VALVE - 2 WAY (OFFSET) (35) - HYDRAULIC SYSTEMS

Схема запчастей Case CX145C SR - (35.359.AB[08]) - SELECTOR VALVE - 2 WAY (OFFSET) (35) - HYDRAULIC SYSTEMS
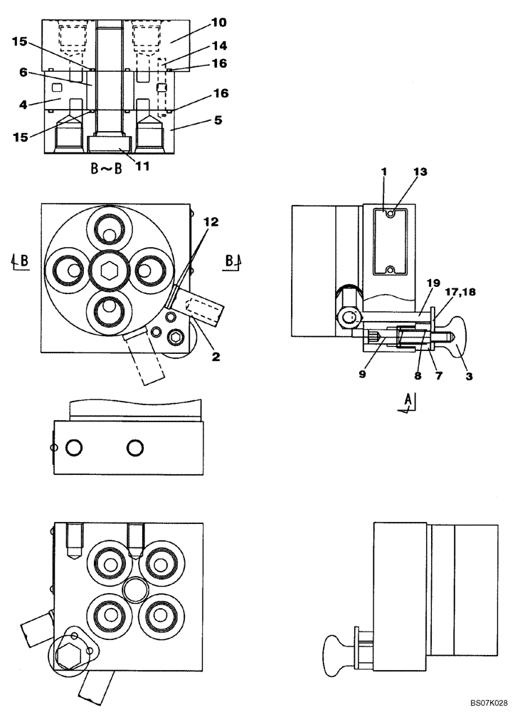
19
14
12
17
15
6
16
11
13
16
5
15
18
8
1
3
2
7
9
10
4
FIT
1:1
100%

Артикул

Название

Примечание

Количество

0

KHJ12080

CONTROL BLOCK

Selector Valve Assembly, Incl 1 - 19

1шт.

1

NSS

NOT SOLD SEPARAT

Name Plate, Incl in 0

1шт.

2

LF00035

CONTROL LEVER

1шт.

3

LP000220

KNOB

1шт.

4

NSS

NOT SOLD SEPARAT

Plate, Incl in 0

1шт.

5

LR014550

PLATE

1шт.

6

NSS

NOT SOLD SEPARAT

Collar, Incl in 0

1шт.

7

LH004670

SLEEVE

1шт.

8

LG005840

COMPRESSION SPRING

1шт.

9

LA010670

DOWEL

Pin

1шт.

10

LR014560

PLATE

1шт.

11

LA010680

BOLT,Hex Skt Hd

Bolt HEX SOC HD

1шт.

12

895-11008

WASHER,9mm ID x 16mm OD x 1.6mm Thk

9 X 16 X 1.6MM CST/ZND NH140016

2шт.

13

NSS

NOT SOLD SEPARAT

Rivet, Incl in 0

2шт.

14

LA010690

DOWEL

Pin

1шт.

15

LE00852

O-RING

2шт.

16

LE01128

O-RING

2шт.

17

LG005850

STOP LOCK

1шт.

18

NSS

NOT SOLD SEPARAT

Bracket, Incl in 0

1шт.

19

NSS

NOT SOLD SEPARAT

Pin, Incl in 0

2шт.

Выбрано товаров: 0