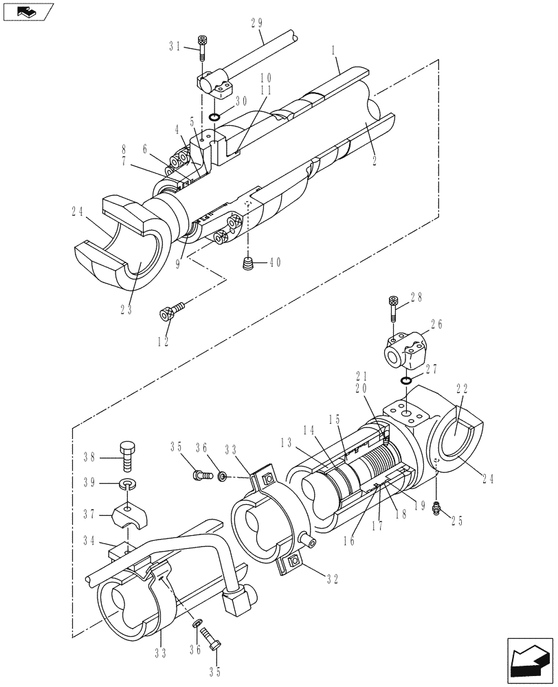
Запчасти Case CX145C SR (35.736.AC[01]) - BOOM LINE (35) - HYDRAULIC SYSTEMS

Схема запчастей Case CX145C SR - (35.736.AC[01]) - BOOM LINE (35) - HYDRAULIC SYSTEMS
11
10
25
26
31
32
13
24
18
33
20
37
4
24
5
15
30
38
16
39
34
40
28
33
home
23
9
17
7
27
22
19
35
14
1
12
36
21
8
35
36
6
29
2
FIT
1:1
100%

Артикул

Название

Примечание

Количество

2

KMJ16120

HYDRAULIC HOSE

1шт.

4

KMJ16250

HYDRAULIC HOSE

1шт.

5

161080A1

FLANGE

2шт.

6

161096A1

O-RING

1шт.

7

862-8025

HEX SOC SCREW,M8 x 25mm, Cl 12.9

4шт.

8

155204A1

O-RING

1шт.

9

KHJ14710

ADAPTER

1шт.

10

154487A1

O-RING

1шт.

11

153458A1

FLANGE

2шт.

12

155210A1

O-RING

1шт.

13

862-10030

HEX SOC SCREW,M10 x 30mm, Cl 12.9

4шт.

14

KHJ1360

O-RING,0.07" Thk x 0.739" ID

1шт.

15

KHJ1765

ADAPTER

1шт.

16

154487A1

O-RING

1шт.

17

KMJ14820

CLAMP

2шт.

18

KMJ16140

BRACKET

1шт.

19

166347A1

BOLT,Sems, M10 x 30mm

2шт.

20

150498A1

MOUNTING CLIP

2шт.

Выбрано товаров: 18