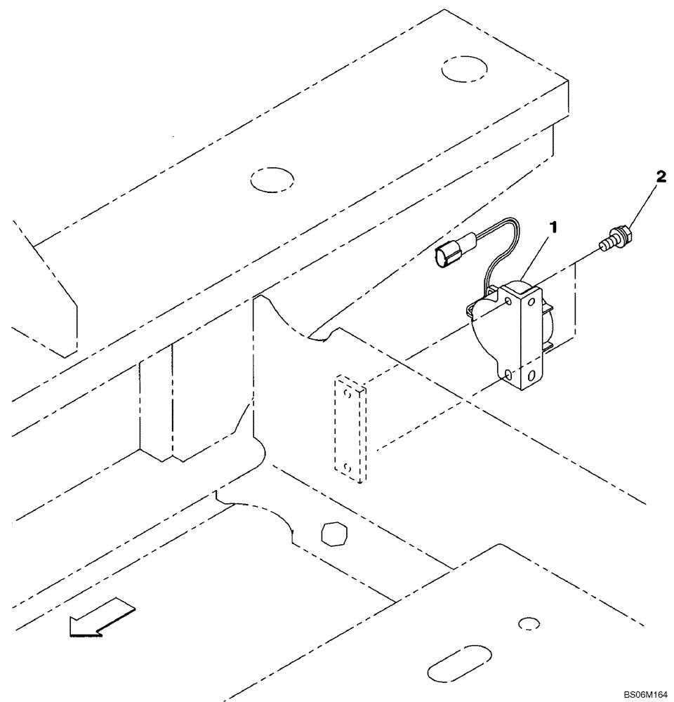
Запчасти Case CX145C SR (55.408.BE) - TRAVEL ALARM (55) - ELECTRICAL SYSTEMS

Схема запчастей Case CX145C SR - (55.408.BE) - TRAVEL ALARM (55) - ELECTRICAL SYSTEMS
1
2
FIT
1:1
100%

Артикул

Название

Примечание

Количество

1

KHR3852

ALARM

Travel

1шт.

2

156559A1

BOLT,High Strength, Hex, M6 x 12mm, W/ LW

2шт.

Выбрано товаров: 2