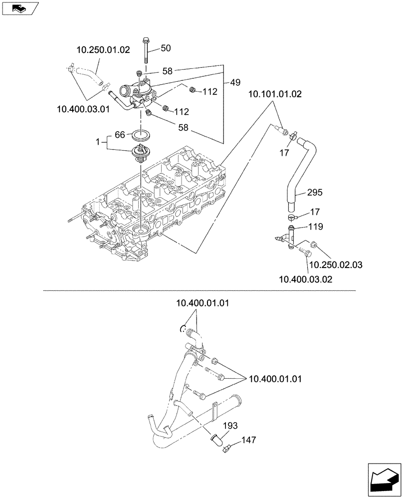
Запчасти Case CX145C SR (10.400.BC) - THERMOSTAT & HOUSING (10) - ENGINE

Схема запчастей Case CX145C SR - (10.400.BC) - THERMOSTAT & HOUSING (10) - ENGINE
112
295
193
1
49
66
147
58
112
58
17
50
119
17
FIT
1:1
100%

Артикул

Название

Примечание

Количество

1

87597723

THERMOSTAT

1шт.

17

86990039

CLIP

2шт.

49

84590844

PIPE

1шт.

58

87730499

PLUG

2шт.

50

87597729

BOLT

2шт.

66

84590860

GASKET

1шт.

112

289415A1

PLUG

2шт.

119

84590863

TUBE

1шт.

147

86990039

CLIP

1шт.

193

84590683

CAP

1шт.

295

87631924

HOSE,1000.00 mm

1шт.

Выбрано товаров: 11