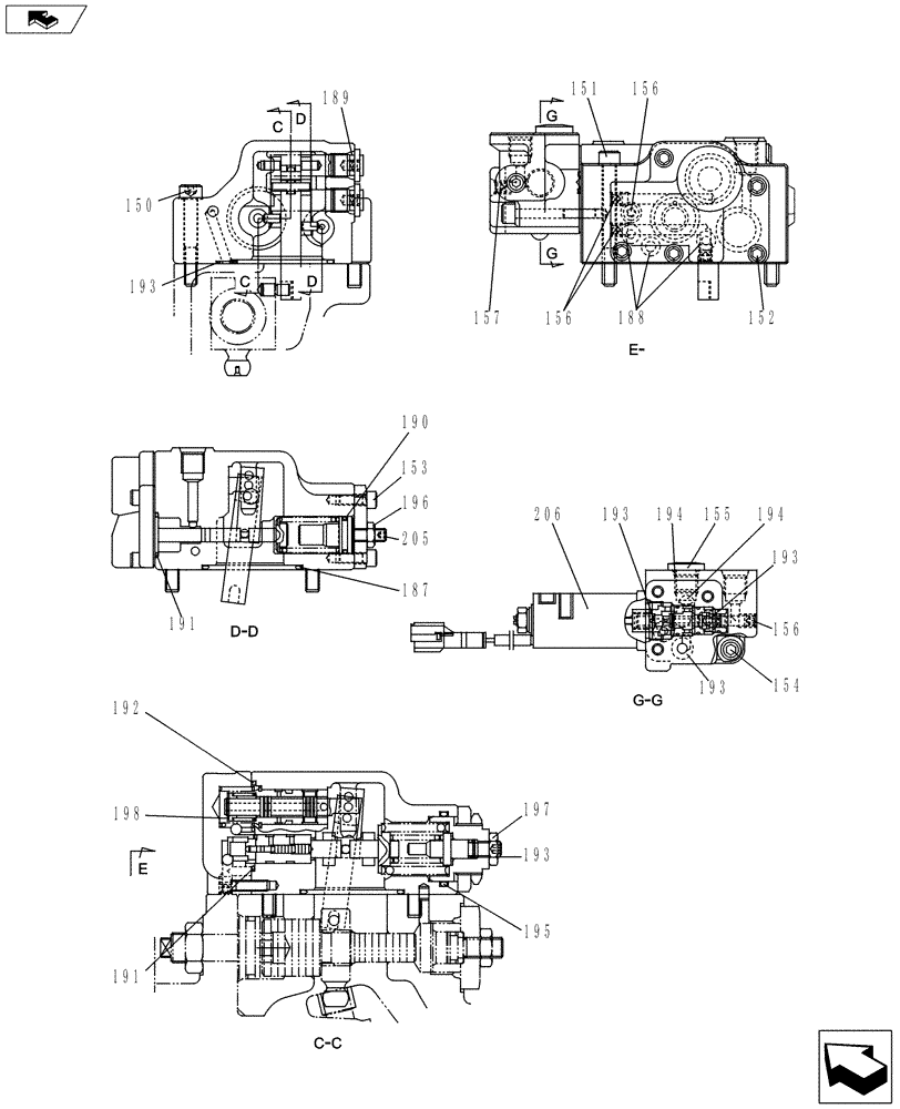
Запчасти Case CX145C SR (35.106.AD[07]) - HYDRAULIC PUMP - PTO (35) - HYDRAULIC SYSTEMS

Схема запчастей Case CX145C SR - (35.106.AD[07]) - HYDRAULIC PUMP - PTO (35) - HYDRAULIC SYSTEMS
191
155
187
195
191
193
188
193
156
205
194
193
206
194
192
189
198
154
157
156
156
153
150
193
190
151
197
193
home
196
152
FIT
1:1
100%

Артикул

Название

Примечание

Количество

150

108R008Z050N

BOLT

2шт.

151

861-8070

HEX SOC SCREW,M8 x 70mm, Cl 12.9

2шт.

152

862-6020

HEX SOC SCREW,M6 x 20mm, Cl 12.9

5шт.

153

861-6016

HEX SOC SCREW,M6 x 16mm, Cl 12.9

4шт.

154

861-6045

HEX SOC SCREW,M6 x 45mm, Cl 12.9

4шт.

155

LK00015

PLUG

1шт.

156

LK00003

PLUG

5шт.

157

LK006340

PLUG

3шт.

187

LE015270

O-RING

1шт.

188

LE013470

O-RING

7шт.

189

LE014730

O-RING

2шт.

190

154489A1

O-RING

1шт.

191

LE00608

O-RING

2шт.

192

LE013380

O-RING

1шт.

193

LE013540

O-RING

6шт.

194

LE013410

O-RING

2шт.

195

LE015280

O-RING

1шт.

196

LA00065

JAM NUT

1шт.

197

LA010640

JAM NUT

1шт.

198

800-1110

SNAP RING,M10, Ext

1шт.

205

LA00759

BOLT,Hex Skt Hd

1шт.

206

LJ00684

SOLENOID VALVE

1шт.

Выбрано товаров: 22