Запчасти Case CX160C (35.352.AL[02]) - SWING MOTOR - COMPONENTS (35) - HYDRAULIC SYSTEMS

Схема запчастей Case CX160C - (35.352.AL[02]) - SWING MOTOR - COMPONENTS (35) - HYDRAULIC SYSTEMS
5
6
70
2
9
9
6
1
65
2
48
51
54
6
7
58
63
7
75
6
0
67
0
74
7
8
64
73
5
4
5
60
3
5
47
home
4
5
62
68
72
0
4
4
6
5
61
57
5
49
5
69
5
4
59
8
7
5
5
6
66
6
3
8
7
6
50
52
6
3
55
7
7
1
6
6
56
4
5
53
5
1
46
2
6
7
9
7
71
FIT
1:1
100%

Артикул

Название

Примечание

Количество

46

LN001970

REDUCER

1шт.

46

LN001970R

REMAN-REDUCTION UNIT

CX160C CRAWLER EXCAVATOR - TIER 4 (NA) (4/12-)

1шт.

46

LN001970C

CORE-REDUCTION UNIT

Return Number

1шт.

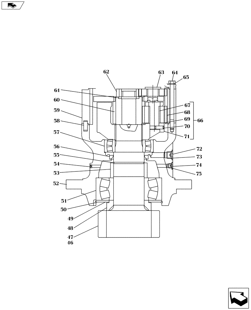
47

LB011880

SHAFT

1шт.

48

160548A1

COLLAR

1шт.

49

156356A1

PLATE

1шт.

50

155685A1

RING, SNAP

1шт.

51

156157A1

BEARING, ROLLER,110mm ID x 215mm OD x 73mm W

1шт.

52

LW005020

HOUSING

1шт.

53

LH00337

COLLAR

1шт.

54

LK00053

PLUG

1шт.

55

155686A1

RING, SNAP

1шт.

56

155107A1

OIL SEAL

1шт.

57

160611A1

BEARING, ROLLER,90mm ID x 160mm OD x 40mm W

1шт.

58

155621A1

COTTER PIN

4шт.

59

LC00221

RING GEAR

1шт.

60

160520A1

GEAR

1шт.

61

160047A1

PLATE, THRUST

1шт.

62

161806A1

SUN GEAR

1шт.

63

LS00237

HOLDER

1шт.

64

102R012Y150R

BOLT

16шт.

65

892-10012

LOCK WASHER,M12

16шт.

66

168437A1

HOLDER

1шт.

67

NSS

NOT SOLD SEPARAT

Incl in 46

3шт.

68

LC00149

PLANETARY GEAR

3шт.

69

155383A1

WASHER, THRUST

3шт.

70

LA00068

DOWEL

3шт.

71

LS00190

HOLDER

1шт.

72

160903A1

CAP

1шт.

73

154487A1

O-RING

1шт.

74

160306A1

CAP

1шт.

75

154467A1

O-RING,10.8mm ID x 2.4mm Width

1шт.

Выбрано товаров: 32