Запчасти Case CX160C (35.359.AN[01]) - HOLDING VALVE (35) - HYDRAULIC SYSTEMS

Схема запчастей Case CX160C - (35.359.AN[01]) - HOLDING VALVE (35) - HYDRAULIC SYSTEMS
10
20
4
11
14
28
7
5
15
26
22
21
27
15
15
17
13
9
12
23
24
16
15
15
19
6
15
15
18
2
3
15
15
5
home
8
13
1
25
FIT
1:1
100%

Артикул

Название

Примечание

Количество

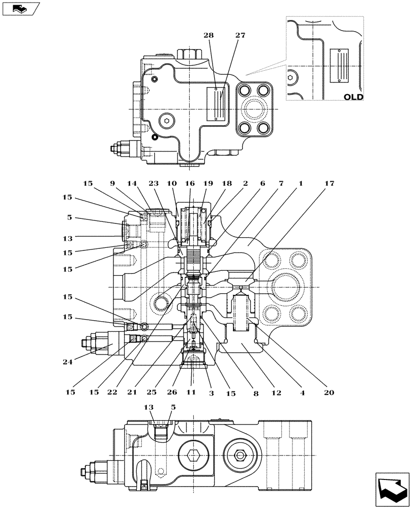
1

KRV11110

VALVE SECTION

1шт.

2

154535A1

O-RING

1шт.

3

154499A1

O-RING

1шт.

4

154503A1

O-RING

1шт.

5

154467A1

O-RING,10.8mm ID x 2.4mm Width

NBR70K6 10.80IDX240

2шт.

6

166804A1

O-RING

1шт.

7

LBQ6021

O-RING

1шт.

8

LE013260

SEAL

1шт.

9

154475A1

O-RING

1шт.

10

LK005500

PLUG

1шт.

11

LK005360

PLUG

1шт.

12

LK005520

PLUG

1шт.

13

LK00015

PLUG

2шт.

14

LK00008

PLUG

1шт.

15

NSS

NOT SOLD SEPARAT

Incl in 1

9шт.

16

LR014580

SPRING SEAT

1шт.

17

LJ014260

VALVE POPPET

1шт.

18

LG005860

COMPRESSION SPRING

1шт.

19

LG005870

COMPRESSION SPRING

1шт.

20

LG005880

COMPRESSION SPRING

1шт.

21

NSS

NOT SOLD SEPARAT

Incl in 1

1шт.

22

NSS

NOT SOLD SEPARAT

Incl in 1

1шт.

23

NSS

NOT SOLD SEPARAT

Incl in 1

1шт.

24

LJ014280

VALVE PRESSURE RELIE

1шт.

25

LJ014290

PISTON

1шт.

26

LJ014300

PISTON

1шт.

27

NSS

NOT SOLD SEPARAT

Incl in 1

1шт.

28

NSS

NOT SOLD SEPARAT

Incl in 1

2шт.

Выбрано товаров: 28