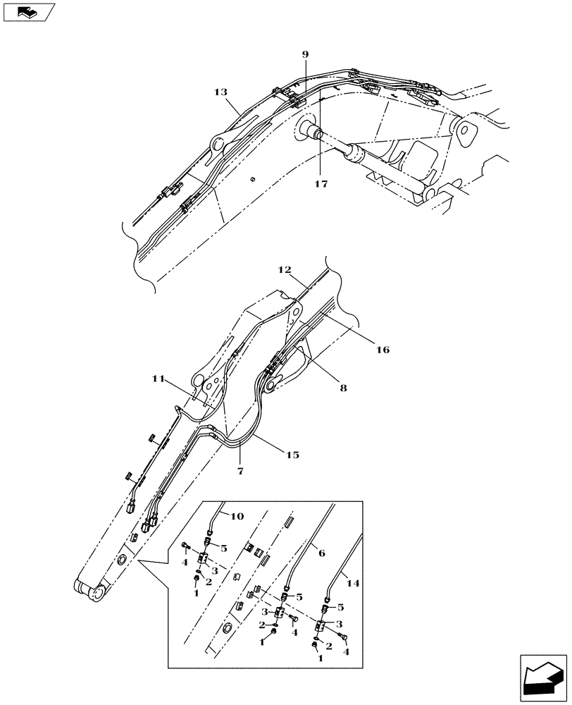
Запчасти Case CX160C (35.736.AC[03]) - SECOND OPTION LINE - STANDARD 2.62 M (35) - HYDRAULIC SYSTEMS

Схема запчастей Case CX160C - (35.736.AC[03]) - SECOND OPTION LINE - STANDARD 2.62 M (35) - HYDRAULIC SYSTEMS
5
1
4
9
7
5
1
home
5
1
2
3
2
4
3
17
15
2
16
3
8
10
11
13
6
14
4
12
FIT
1:1
100%

Артикул

Название

Примечание

Количество

1

159085A1

PLUG

3шт.

2

154487A1

O-RING

3шт.

3

KHV10440

VALVE

3шт.

4

167183A1

BOLT,Sems, M12 x 60mm, Cl 10.9

6шт.

5

KHJ1939

FITTING

3шт.

6

KLV12470

HYD TUBE,21.7mm X 16.1mm Adaptor and elbow

1шт.

7

168535A1

HYDRAULIC HOSE

1шт.

8

KLV12450

HYD TUBE,21.7mm X 16.1mm Adaptor

1шт.

9

KLV14180

HYD TUBE,Dia 21.7

1шт.

10

KLV12480

HYD TUBE,21.7mm X 16.1mm Adaptor and elbow

1шт.

11

168535A1

HYDRAULIC HOSE

1шт.

12

KLV12460

HYD TUBE,21.7mm X 16.1mm Adaptor

1шт.

13

KLV12430

HYD TUBE,21.7mm X 16.1mm Adaptor

1шт.

14

KLV12490

HYD TUBE,21.7mm X 16.1mm Adaptor and elbow

1шт.

15

168535A1

HYDRAULIC HOSE

1шт.

16

KLV12450

HYD TUBE,21.7mm X 16.1mm Adaptor

1шт.

17

KLV14190

HYD TUBE,Dia 21.7

1шт.

Выбрано товаров: 17