Запчасти Case CX160C (48.110.AA) - RECOIL SPRING (48) - TRACKS & TRACK SUSPENSION

Схема запчастей Case CX160C - (48.110.AA) - RECOIL SPRING (48) - TRACKS & TRACK SUSPENSION
1
1
15
home
10
2
13
4
1
5
7
14
12
3
6
16
9
8
11
FIT
1:1
100%

Артикул

Название

Примечание

Количество

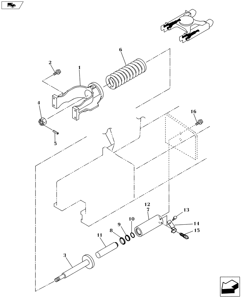
1

KRA14080

FORK

2шт.

2

165929A1

BOLT,Sems, M16

8шт.

3

KLA10500

THREADED ROD

2шт.

4

283647A1

SLOTTED NUT

2шт.

5

738-1880

LOCK PIN,8mm OD x 80mm L, Slotted

2шт.

6

KLA10040

COIL SPRING

2шт.

7

KRA12850

CYLINDER

(L=340mm)

2шт.

8

151686A1

SEAL,70mm ID x 84mm OD x 11mm Thk

2шт.

9

KRA12860

GASKET

OD 70.3mm - ID 55.4mm - Thk 6.25mm

2шт.

10

800-1155

RETAINER,55mm ID

2шт.

11

KRA12880

PISTON ROD

2шт.

12

KRA12890

HYD CYL SLEEVE

2шт.

13

166351A1

BOLT,Sems, M10 x 20mm

2шт.

14

KBA1121

BRACKET

2шт.

15

150107A1

LUBE NIPPLE

2шт.

16

165930A1

BOLT,Sems, M16 x 55mm

4шт.

Выбрано товаров: 0