Запчасти Case CX160C (55.015.02[01]) - MUFFLER (55) - ELECTRICAL SYSTEMS

Схема запчастей Case CX160C - (55.015.02[01]) - MUFFLER (55) - ELECTRICAL SYSTEMS
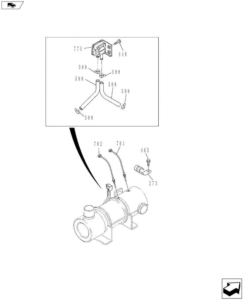
598
273
599
448
775
465
702
701
599
598
599
599
FIT
1:1
100%

Артикул

Название

Примечание

Количество

273

87729976

CABLE CLIP

2шт.

448

87595866

BOLT

2шт.

465

87595938

BOLT

1шт.

598

84410073

LARGE HOSE

2шт.

599

84387995

HOSE CLIP

4шт.

701

84387999

SENSOR

DPF, Dark Gray (Temp)

1шт.

702

84388001

SENSOR

DPF, Light Gray (Temp)

1шт.

775

84364504

SENSOR,DPF (Pressure)

DPF (Pressure)

1шт.

Выбрано товаров: 8