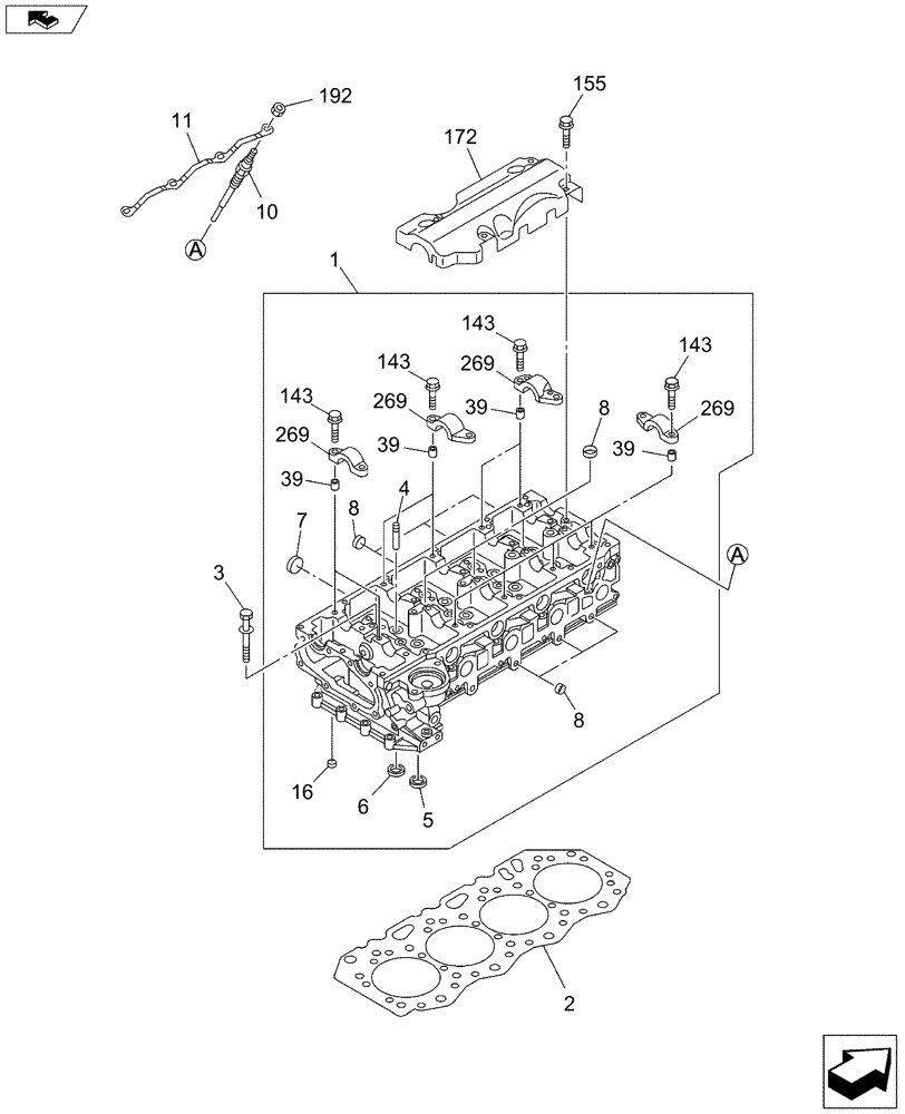
Запчасти Case CX160C (10.101.AA[01]) - CYLINDER HEAD (10) - ENGINE

Схема запчастей Case CX160C - (10.101.AA[01]) - CYLINDER HEAD (10) - ENGINE
2
155
269
192
8
3
11
5
4
16
39
269
269
7
39
8
6
39
143
172
8
143
home
143
269
143
1
10
39
FIT
1:1
100%

Артикул

Название

Примечание

Количество

1

84590648

CYLINDER HEAD,4 Cylinder

Incl 4 - 8, 16, 39, 143, 269

1шт.

1

47607723R

REMAN-CYLINDER HEAD

Complete With Valves

1шт.

1

47607723C

CORE-CYLINDER HEAD

Return Number

1шт.

2

47366039

ENGINE OVERHAUL KIT

(T=1.05)

1шт.

2

87595407

GASKET,1.1mm Thk

(T=1.10)

1шт.

2

87595412

GASKET,1.15mm Thk

(T=1.15)

1шт.

3

87595413

BOLT

18шт.

4

87595424

VALVE GUIDE

16шт.

5

87595425

SEAT, VALVE

INLET

8шт.

6

87595431

SEAT, VALVE

EXHAUST

8шт.

7

87384455

CUPEL

2шт.

8

359866A1

CUP

13шт.

10

84590679

PLUG

4шт.

11

87595811

ELEC CONNECTOR

1шт.

16

87595433

CUPEL

7шт.

39

87595819

DOWEL

20шт.

143

87595822

BOLT

20шт.

155

87595825

BOLT

4шт.

172

87595827

PLATE

1шт.

192

87595807

NUT

4шт.

269

NSS

NOT SOLD SEPARAT

Incl in 1

1шт.

Выбрано товаров: 21