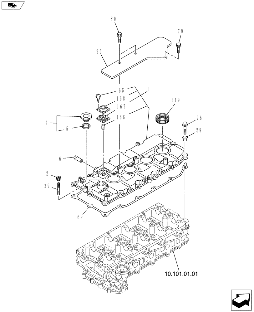
Запчасти Case CX160C (10.101.AB) - CYLINDER HEAD COVER (10) - ENGINE

Схема запчастей Case CX160C - (10.101.AB) - CYLINDER HEAD COVER (10) - ENGINE
79
1
6
90
39
4
80
10.101.01.01
5
166
167
26
65
168
home
119
29
69
2
FIT
1:1
100%

Артикул

Название

Примечание

Количество

1

84590647

VALVE COVER

1шт.

2

87595267

NUT

1шт.

4

353965A1

FILLER CAP

1шт.

5

353966A1

GASKET

1шт.

6

87595269

PIPE

1шт.

26

87595272

BOLT

13шт.

29

87595273

RUBBER SEAL

14шт.

39

87595274

STUD

1шт.

65

87595289

ADJUSTMENT SCREW,Hex, M12 x 1.25 x 70mm, Cl 8.8

1шт.

69

87595291

GASKET

1шт.

79

87595292

BOLT

1шт.

80

87595323

BOLT

2шт.

90

87595356

COVER

1шт.

119

87595387

COVER

4шт.

166

87597702

SPRING

1шт.

167

87595390

DIAPHRAGM

1шт.

168

87595391

COVER

1шт.

Выбрано товаров: 17