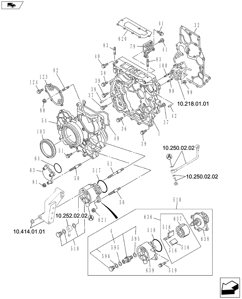
Запчасти Case CX160C (10.102.BB[01]) - FLYWHEEL HOUSING (10) - ENGINE

Схема запчастей Case CX160C - (10.102.BB[01]) - FLYWHEEL HOUSING (10) - ENGINE
516
32
10.250.02.02
40
637
10.414.01.01
595
79
37
80
42
638
516
519
39
49
37
103
510
510
39
83
83
516
81
50
41
1
63
620
38
595
54
41
123
98
51
50
64
621
639
10.250.02.02
596
518
36
99
517
51
124
4
100
38
10.252.02.02
636
82
home
FIT
1:1
100%

Артикул

Название

Примечание

Количество

1

87596939

CASE

1шт.

4

84590759

VALVE

1шт.

32

87596945

GASKET

1шт.

36

87595866

BOLT

1шт.

37

87595292

BOLT

16шт.

38

87595463

BOLT

1шт.

39

87595806

BOLT

2шт.

40

87595839

BOLT

1шт.

41

87596055

BOLT

3шт.

42

72216708

ROLL PIN

2шт.

49

87596967

GASKET

1шт.

50

87596974

STUD

5шт.

51

87596976

STUD

1шт.

54

84590765

COVER

1шт.

63

87596985

COVER

1шт.

64

87596993

GASKET

1шт.

79

87597000

BRACKET

1шт.

80

87595267

NUT

2шт.

81

87595428

NUT

3шт.

82

87597001

STUD

2шт.

83

87597006

STUD

2шт.

98

87595428

NUT

2шт.

99

87597074

STUD

1шт.

100

87597075

STUD

1шт.

103

84590772

SEAL

1шт.

123

87597078

COVER

1шт.

124

87595938

BOLT

3шт.

510

84590783

PUMP

Incl 516 - 519, 595 - 596 636 - 639

1шт.

516

84590789

VANE

3шт.

517

84590793

GASKET

1шт.

518

84590797

GASKET

1шт.

519

84590801

BOLT

3шт.

595

84590802

GASKET

2шт.

596

84590804

GASKET

1шт.

620

87597632

GASKET

1шт.

620

87597643

GASKET

1шт.

620

87597645

GASKET

1шт.

621

87595428

NUT

2шт.

636

84590809

ROTOR

Incl 516, 637

1шт.

637

NSS

NOT SOLD SEPARAT

Incl in 636

1шт.

638

NSS

NOT SOLD SEPARAT

Incl in 510

1шт.

639

NSS

NOT SOLD SEPARAT

Incl in 510

1шт.

Выбрано товаров: 42