Запчасти Case CX160C (10.202.AB) - AIR CLEANER WITH ELEMENT (10) - ENGINE

Схема запчастей Case CX160C - (10.202.AB) - AIR CLEANER WITH ELEMENT (10) - ENGINE
1
17
3
1
17
22
18
1
home
12
14
21
2
7
16
10
8
11
20
5
15
4
13
19
6
9
FIT
1:1
100%

Артикул

Название

Примечание

Количество

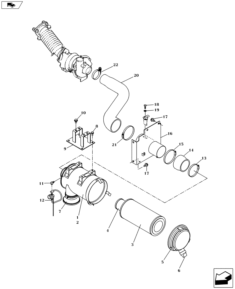
1

KLH10150

FILTER ASSY

1шт.

2

NSS

NOT SOLD SEPARAT

Air Cleaner, Incl in 1, Incl 3 - 6

1шт.

3

KLH10550

AIR FILTER

Outer

1шт.

4

KLH10560

AIR FILTER

Inner

1шт.

5

KLH10570

COVER

1шт.

6

KBH0924

VALVE

1шт.

7

165437A1

CAP

1шт.

8

166052A1

BOLT

SEMS M10X25

4шт.

9

KLH10720

SUPPORT

1шт.

10

152718A1

BOLT,Spcl, Hex Wshr, M12 x 25mm, Cl 10.9

4шт.

11

KHH13870

ELBOW UNION

1шт.

12

KHH10330

SENSOR

1шт.

13

150545A1

COLLAR

Jubilee

1шт.

14

KLH11210

AIR HOSE

1шт.

15

150855A1

HOSE CLAMP,127mm - 146mm

1шт.

16

KLH11450

BRACKET

1шт.

17

152718A1

BOLT,Spcl, Hex Wshr, M12 x 25mm, Cl 10.9

4шт.

18

KHH14100

BOLT

2шт.

19

895-11004

WASHER,4.3mm ID x 9mm OD x 0.8mm Thk

CST/ZNDNH9824840

2шт.

20

KLH11230

AIR HOSE

1шт.

21

150855A1

HOSE CLAMP,127mm - 146mm

1шт.

22

KHH13980

HOSE CLAMP

1шт.

Выбрано товаров: 22