Запчасти Case CX160C (10.216.AI) - FUEL TANK (10) - ENGINE

Схема запчастей Case CX160C - (10.216.AI) - FUEL TANK (10) - ENGINE
11
6
17
3
1
7
10
15
19
12
14
9
5
2
home
18
13
1
16
1
8
4
FIT
1:1
100%

Артикул

Название

Примечание

Количество

1

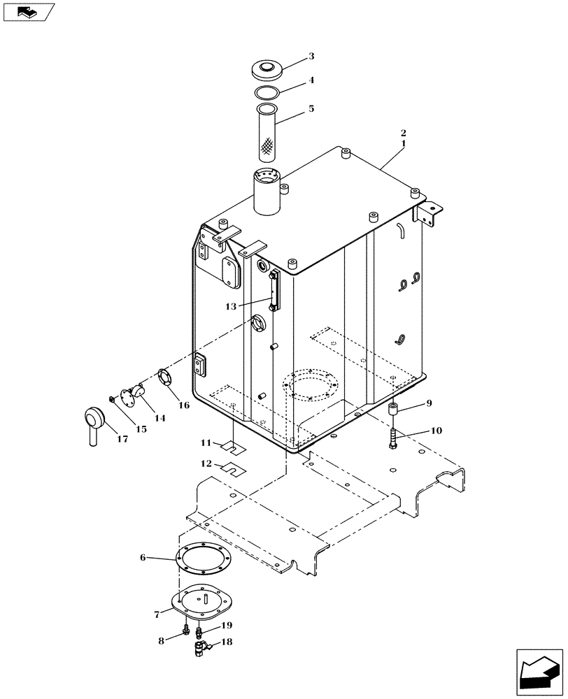
KLH11380

TANK

Incl 2 - 8

1шт.

2

NSS

NOT SOLD SEPARAT

Fuel Tank, Incl in 1

1шт.

3

150492A1

LOCKABLE FUEL CAP

1шт.

4

163804A1

GASKET

1шт.

5

KHH10060

FILTER

1шт.

6

151322A1

GASKET,3mm Thk

1шт.

7

KRH13080

COVER

1шт.

8

166052A1

BOLT

8шт.

9

153357A1

SPACER

4шт.

10

827-16070

BOLT,Hex, M16 x 2 x 70mm, Cl 10.9

4шт.

11

150166A1

SHIM

1шт.

12

150479A1

SHIM

1шт.

13

KHH12090

DIPSTICK

1шт.

14

KHR10670

SENSOR

1шт.

15

151688A1

SCREW,Phil Pan Hd, M5 x 12mm, W/ Wshr

5шт.

16

152591A1

GASKET,2mm Thk

1шт.

17

159698A1

COVER

1шт.

18

158923A1

DRAIN VALVE

1шт.

19

150847A1

HYD CONNECTOR

1шт.

Выбрано товаров: 19