Запчасти Case CX210C LC (35.350.12) - VALVE SOLENOID (35) - HYDRAULIC SYSTEMS

Схема запчастей Case CX210C LC - (35.350.12) - VALVE SOLENOID (35) - HYDRAULIC SYSTEMS
7
9
5
2
3
10
15
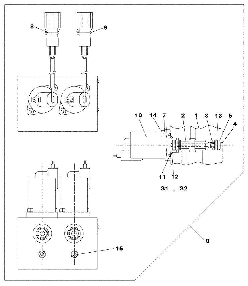
0
12
4
8
14
11
1
13
FIT
1:1
100%

Артикул

Название

Примечание

Количество

0

KHJ14780

VALVE SECTION

Inc. 1 - 15

1шт.

1

NSS

1шт.

2

NSS

2шт.

3

LG006010

COMPRESSION SPRING

2шт.

4

LR015080

ADAPTER

2шт.

5

LA010960

SNAP RING

2шт.

7

LA010970

SPRING WASHER

4шт.

8

LD001470

COLLAR

Blue

1шт.

9

LD001450

COLLAR

Red

1шт.

10

LL001140

SOLENOID

Inc. 11 - 12

2шт.

11

155188A1

O-RING

1шт.

12

154487A1

O-RING

1шт.

13

154463A1

O-RING

2шт.

14

LA010980

BOLT,Hex Skt Hd

4шт.

15

LK005630

PLUG

2шт.

Выбрано товаров: 15