Качественные детали и логистика
Оригинальные и аналоговые запчасти с доставкой по России, Казахстану и Беларуси
©2022 PartSell ООО "Система" ИНН 2463123282 ОГРН 1212400004838
Центральный офис: г. Красноярск, Академика Киренского, д.87, пом.4
Телефон: 8 (800) 777-65-74 Email: zakaz@partsell.ru
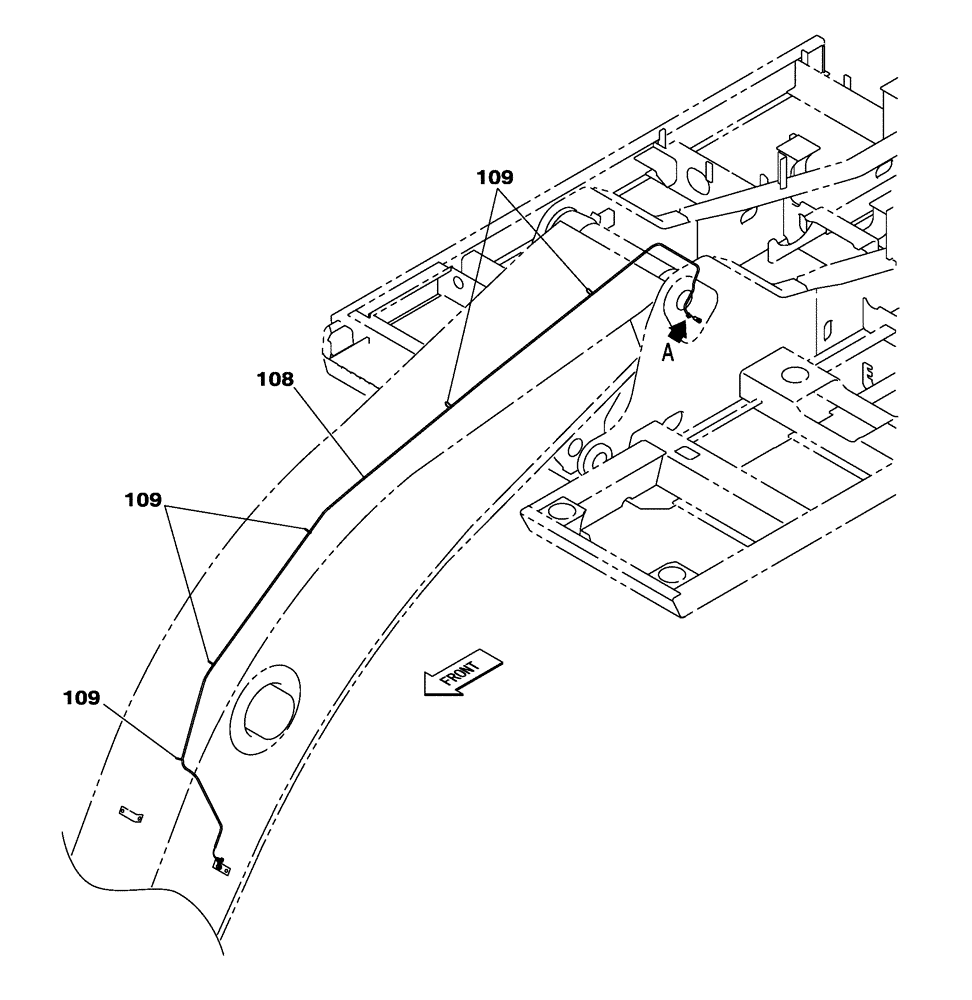
(55.100.01[04]) - CHASSIS ELECTRICAL CIRCUIT
№
Артикул
Название
Примечание
Количество
108
KHR11160
WIRE HARNESS
1шт.
109
150496A1
MOUNTING CLIP
7шт.
Выбрано товаров: 0