Запчасти Case CX210C LC (10.101.01[01]) - CYLINDER HEAD (10) - ENGINE

Схема запчастей Case CX210C LC - (10.101.01[01]) - CYLINDER HEAD (10) - ENGINE
192
24b
1
0-25
2
24a
23
10
7a
3b
23
47
5a
201
1
71
1
24b
24a
25
57
58a
59
0-14
4
23
3c
7a
23
7b
24a
11
5b
7c
1
7d
1
23
58b
3a
FIT
1:1
100%

Артикул

Название

Примечание

Количество

0-14

Camshaft Valve Mechanism, See Figure(s) 10.106.01 01

1шт.

0-25

Intake Pipe, See Figure(s) 10.254.03

1шт.

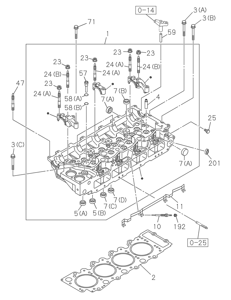
1

84389356

CYLINDER HEAD,4 Cylinder

Inc. 4, 5A, 5B, 7A - 7D, 23, 24A, 24B, 57, 58A, 58B, Also See Figure(s) 10.101.01 02

1шт.

1

47607716R

REMAN-CYLINDER HEAD

Complete with Valves

1шт.

1

47607716C

CORE-CYLINDER HEAD

Return Number

1шт.

2

84389438

CYLINDER HEAD GASKET

1шт.

3a

438152A1

BOLT

1шт.

3b

438153A1

BOLT

1шт.

3c

87595398

BOLT

18шт.

4

87601204

VALVE GUIDE

16шт.

5a

84388076

VALVE SEAT

8шт.

5b

84140896

VALVE SEAT

8шт.

7a

87595408

CUPEL

5шт.

7b

289076A1

CUP

4шт.

7c

71455287

PLUG

7шт.

7d

353962A1

PLUG

5шт.

10

438043A1

HEATER COIL

4шт.

11

87595410

ELEC CONNECTOR

1шт.

23

87595428

NUT

10шт.

24a

438026A1

STUD

8шт.

24b

438025A1

STUD

2шт.

25

87377930

PLUG

1шт.

47

87595430

STUD

2шт.

57

87528150

NOZZLE HOLDER

4шт.

58a

87377928

GASKET

4шт.

58b

87377929

GASKET

4шт.

59

87379448

GUIDE

8шт.

71

87595463

BOLT

2шт.

192

87595807

NUT

4шт.

201

72109532

SEAL

4шт.

Выбрано товаров: 0