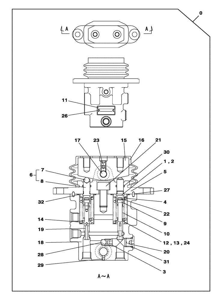
Запчасти Case CX210C LR (35.359.06) - FOOT CONTROL VALVE - OPTIONAL (35) - HYDRAULIC SYSTEMS

Схема запчастей Case CX210C LR - (35.359.06) - FOOT CONTROL VALVE - OPTIONAL (35) - HYDRAULIC SYSTEMS
29
31
17
26
24
3
13
27
0
21
12
9
5
30
28
10
16
15
32
11
7
6
18
20
4
22
8
1
19
14
23
2
FIT
1:1
100%

Артикул

Название

Примечание

Количество

0

KHJ24720

CONTROL BLOCK

Incl 1 - 32

1шт.

1

155570A1

SHIM

2шт.

2

155571A1

SHIM

2шт.

3

160245A1

SEAT

1шт.

4

160848A1

SLEEVE

2шт.

5

156280A1

COVER

1шт.

6

155754A1

VALVE

2шт.

7

NSS

NOT SOLD SEPARAT

Incl in 0

1шт.

8

NSS

NOT SOLD SEPARAT

Incl in 0

1шт.

9

160849A1

COLLAR

2шт.

10

LG00345

COMPRESSION SPRING

2шт.

11

NSS

NOT SOLD SEPARAT

Incl in 0

1шт.

12

LH00029

SHIM

2шт.

13

LH00255

SHIM

2шт.

14

LG007300

COMPRESSION SPRING

2шт.

15

TF00005

CAM

1шт.

16

LQ00025

BELLOWS

1шт.

17

LA00706

DOWEL

1шт.

18

NSS

NOT SOLD SEPARAT

Incl in 0

1шт.

19

NSS

NOT SOLD SEPARAT

Incl in 0

2шт.

20

160083A1

PLUG

1шт.

21

861-12025

HEX SOC SCREW,M12 x 25mm, Cl 12.9

1шт.

22

156179A1

FLANGE BOLT

2шт.

23

878-1088

SET SCREW,Hex Skt, M8 x 8mm, Cup Pt

2шт.

24

156178A1

WASHER

2шт.

25

156177A1

WASHER

2шт.

26

LA00769

RIVET

2шт.

27

LA010650

DOWEL

2шт.

28

LX00041

BALL

1шт.

29

167013A1

BALL

3шт.

30

154462A1

O-RING

2шт.

31

154467A1

O-RING,10.8mm ID x 2.4mm Width

1шт.

32

156903A1

O-RING

2шт.

Выбрано товаров: 33