Качественные детали и логистика
Оригинальные и аналоговые запчасти с доставкой по России, Казахстану и Беларуси
©2022 PartSell ООО "Система" ИНН 2463123282 ОГРН 1212400004838
Центральный офис: г. Красноярск, Академика Киренского, д.87, пом.4
Телефон: 8 (800) 777-65-74 Email: zakaz@partsell.ru
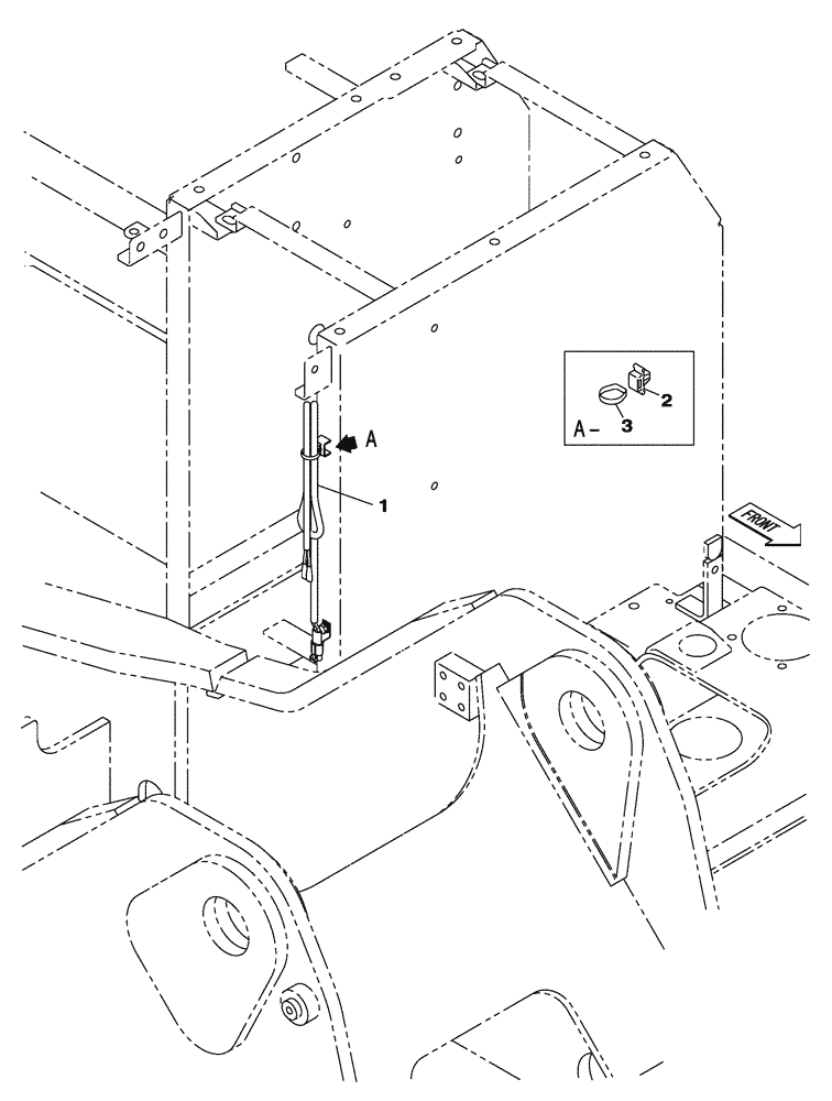
(55.100.03) - ELECTRICAL CIRCUIT, BEACON
№
Артикул
Название
Примечание
Количество
1
KHR16610
HARNESS
Beacon Light
1шт.
2
KHR10220
MOUNTING CLIP
3
150496A1
250 mm
Выбрано товаров: 0