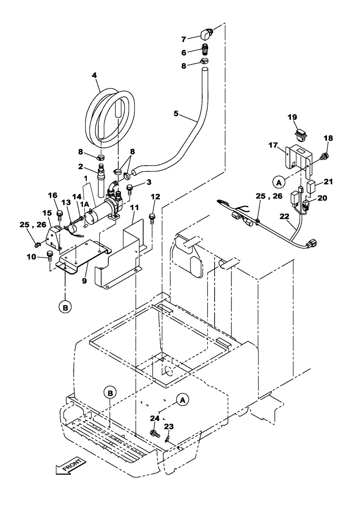
Запчасти Case CX210C LR (88.100.07) - DIA KIT - FUEL FILLING PUMP - OPTIONAL (88) - ACCESSORIES

Схема запчастей Case CX210C LR - (88.100.07) - DIA KIT - FUEL FILLING PUMP - OPTIONAL (88) - ACCESSORIES
18
20
8
4
2
11
17
10
26
25
21
5
12
8
3
13
8
14
25
6
15
24
7
22
1
26
1a
19
23
16
9
FIT
1:1
100%

Артикул

Название

Примечание

Количество

0

KG0HR605-00

CONSTRUCTION DIA

DIA KIT, Fuel Filling Pump, Optional

1шт.

1

KHR30380

PUMP

50L, Incl 1A

1шт.

1a

NSS

NOT SOLD SEPARAT

Fuse, Incl in 1

1шт.

2

KHR30390

VALVE

1шт.

3

166052A1

BOLT

M10 x 25

4шт.

4

KHR11460

FUEL HOSE

4000 mm

1шт.

5

KHR12910

FUEL HOSE

1200 mm

1шт.

6

KHR11480

LUBE NIPPLE

1шт.

7

KHJ2320

ELBOW

1шт.

8

157917A1

COLLAR

4шт.

9

KHR30360

BRACKET

1шт.

10

166351A1

BOLT,Sems, M10 x 20mm

M10 x 20

2шт.

11

KHR30400

COVER

1шт.

12

166351A1

BOLT,Sems, M10 x 20mm

M10 x 20

3шт.

13

KHR4024

ALARM

1шт.

14

KHR1832

SPECIAL BOLT

M5 x 25

1шт.

15

KHR30370

BRACKET

1шт.

16

166345A1

BOLT

M8 x 16

2шт.

17

KHR15080

COVER

1шт.

18

159602A1

BOLT,Sems, Hex, M6 x 16mm

M6 x 16

2шт.

19

KHR12900

SWITCH

1шт.

20

KHR3802

RELAY

2шт.

21

159904A1

COVER

2шт.

22

KHR15101

HARNESS

1шт.

23

KHR16450

CLIP

1шт.

24

KHJ1215

BOLT,Spcl

M8 x 25

1шт.

25

KHR10220

MOUNTING CLIP

2шт.

26

150496A1

MOUNTING CLIP

250 mm

2шт.

Выбрано товаров: 28