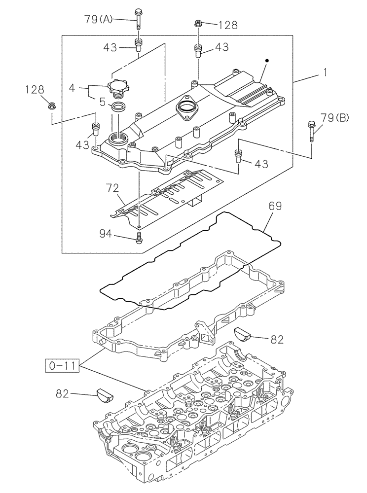
Запчасти Case CX210C LR (10.101.02) - COVER - CYLINDER HEAD (10) - ENGINE

Схема запчастей Case CX210C LR - (10.101.02) - COVER - CYLINDER HEAD (10) - ENGINE
43
0-11
82
4
69
128
43
43
82
94
79a
1
1
5
72
79b
128
FIT
1:1
100%

Артикул

Название

Примечание

Количество

0-11

Cylinder Head, See Figure(s) 10.101.01 02

1шт.

1

87595244

VALVE COVER

Inc. 4, 43, 72, 94

1шт.

4

288798A1

FILLER CAP

Inc. 5

1шт.

5

72109500

OIL SEAL

1шт.

43

87384321

RUBBER SEAL

11шт.

69

87595255

GASKET

1шт.

72

438070A1

PLATE

1шт.

79a

87595258

BOLT

2шт.

79b

87595261

BOLT

7шт.

82

84389046

PLUG

2шт.

94

87595263

SCREW

6шт.

128

87595271

NUT

2шт.

Выбрано товаров: 12