Запчасти Case CX210C LR (10.103.01[03]) - ENGINE FLYWHEEL HOUSING (10) - ENGINE

Схема запчастей Case CX210C LR - (10.103.01[03]) - ENGINE FLYWHEEL HOUSING (10) - ENGINE
356
297b
211b
62c
224
2b
8-26
237b
8-26
2b
478
480
2-20
211a
8-26
0-12
211c
FIT
1:1
100%

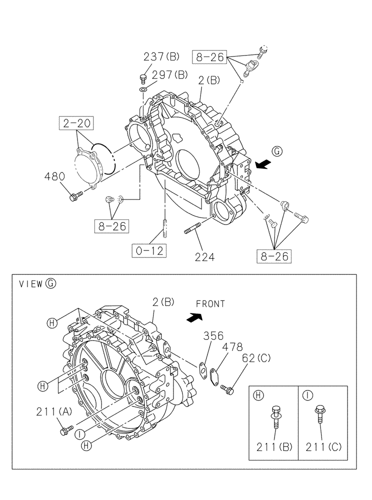
Артикул

Название

Примечание

Количество

0-12

Cylinder Block, See Figure(s) 10.001.03 02

1шт.

2-20

Engine Flywheel Housing, See Figure(s) 10.103.03

1шт.

8-26

Engine Flywheel Housing, See Figure(s) 10.103.02

1шт.

2b

84389338

HOUSING

1шт.

62c

87595866

BOLT

2шт.

211a

87596013

BOLT

1шт.

211b

87596027

BOLT

11шт.

211c

87596028

BOLT

1шт.

224

87596029

STUD

2шт.

237b

355640A1

BOLT

1шт.

297b

289091A1

PACKING

1шт.

356

71457029

SEAL

1шт.

478

NSS

NOT SOLD SEPARAT

Cover, Oil, Incl in Upper Assy

1шт.

480

71456259

SCREW

3шт.

Выбрано товаров: 14