Запчасти Case CX210C LR (10.206.02) - FUEL SYSTEM - FUEL FILTER (10) - ENGINE

Схема запчастей Case CX210C LR - (10.206.02) - FUEL SYSTEM - FUEL FILTER (10) - ENGINE
5
4
6
2
3
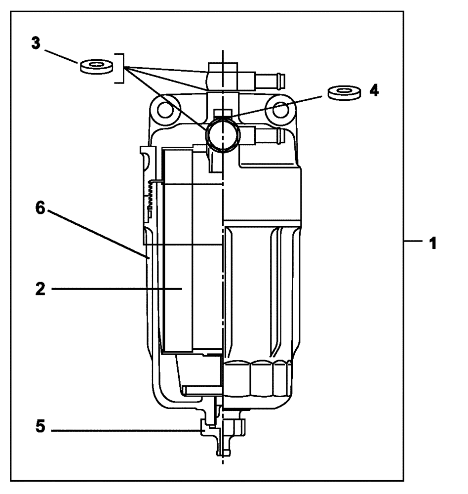
1
FIT
1:1
100%

Артикул

Название

Примечание

Количество

1

KHH12020

FILTER ASSY

Incl 2 - 6

1шт.

2

KHH12030

FUEL FILTER

1шт.

3

158678A1

GASKET

4шт.

4

158676A1

GASKET

1шт.

5

155467A1

PLUG, DRAIN

1шт.

6

LW006140

FILTER BOWL

1шт.

7

LE018900

SEAL KIT

Not Shown

1шт.

Выбрано товаров: 7