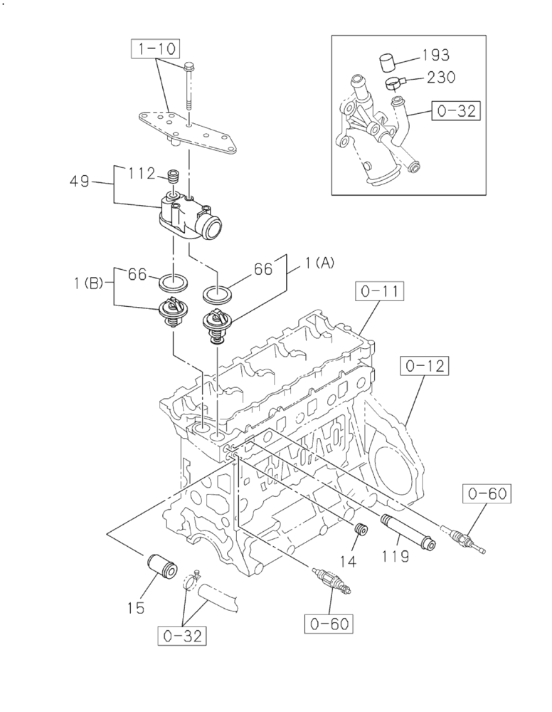
Запчасти Case CX210C LR (10.400.04[01]) - ENGINE WATER CIRCUIT - THERMOSTAT (10) - ENGINE

Схема запчастей Case CX210C LR - (10.400.04[01]) - ENGINE WATER CIRCUIT - THERMOSTAT (10) - ENGINE
0-60
230
1a
1b
49
1-10
15
0-32
112
0-11
66
0-12
119
14
0-32
0-60
193
66
FIT
1:1
100%

Артикул

Название

Примечание

Количество

0-11

Cylinder Head, See Figure(s) 10.101.01 01

1шт.

0-12

Cylinder Block, See Figure(s) 10.001.03 01

1шт.

0-32

Engine Water Circuit, See Figure(s) 10.400.03

1шт.

0-60

Electrical Accessories - Engine, See Figure(s) 55.201.01 01

1шт.

1-10

Bracket - Fan Guard, See Figure(s) 10.414.02

1шт.

1a

87596477

THERMOSTAT

Inc. 66

1шт.

1b

87596469

THERMOSTAT

Inc. 66

1шт.

14

289415A1

PLUG

1шт.

15

87596482

PIPE

1шт.

49

87378562

PIPE

Inc. 112

1шт.

66

87378564

GASKET

2шт.

112

87379740

PLUG

1шт.

119

76591841

PIPE

1шт.

193

76600494

STRAIGHT PIN

1шт.

230

86990039

CLIP

1шт.

Выбрано товаров: 15